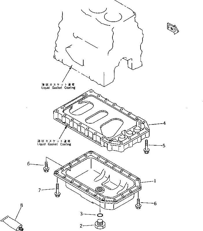
Запчасти Komatsu 3D75-2D МАСЛЯНЫЙ ПОДДОН БЛОК ЦИЛИНДРОВ

Схема запчастей Komatsu 3D75-2D - МАСЛЯНЫЙ ПОДДОН БЛОК ЦИЛИНДРОВ
FIT
1:1
100%

Артикул

Название

Примечание

Количество

1

YM719810-01541

OIL PAN ASS'Y

SN: 03044-UP

1шт.

2

YM171301-01640

PLUG,DRAIN

SN: 03044-UP

1шт.

3

YM24341-000240

O-RING

SN: 03044-UP

1шт.

4

YM119810-01730

SPACER

SN: 03044-UP

1шт.

5

YM26106-080452

BOLT

SN: 03044-UP

6шт.

6

YM26106-080162

BOLT

SN: 03044-UP

6шт.

7

YM26106-080452

BOLT

SN: 03044-UP

16шт.

8

YM97777-001212

LIQUID GASKET

SN: 03044-UP

1шт.

Выбрано товаров: 0