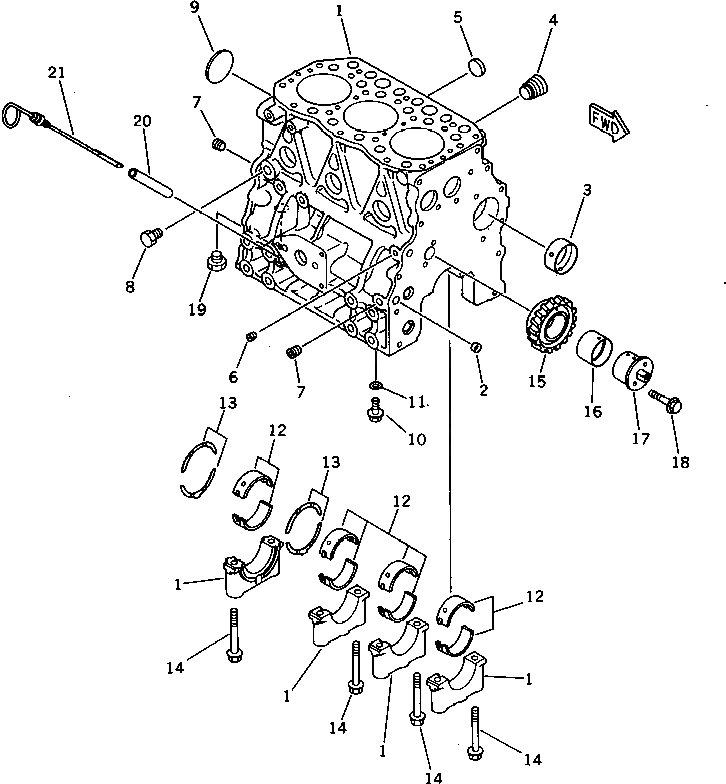
Запчасти Komatsu 3D75-2D БЛОК ЦИЛИНДРОВ БЛОК ЦИЛИНДРОВ

Схема запчастей Komatsu 3D75-2D - БЛОК ЦИЛИНДРОВ БЛОК ЦИЛИНДРОВ
FIT
1:1
100%

Артикул

Название

Примечание

Количество

1

YM719810-01560

CYLINDER BLOCK A.

SN: 03044-UP

1шт.

2

YM27241-120000

PLUG

SN: 03044-UP

2шт.

3

YM129795-02411

BUSHING

SN: 03044-UP

1шт.

4

YM171051-01921

PLUG

SN: 03044-UP

1шт.

5

YM27241-300000

PLUG

SN: 03044-UP

6шт.

6

YM23871-010000

PLUG

SN: 03044-UP

1шт.

7

YM124160-01910

PLUG

SN: 03044-UP

2шт.

8

YM23887-120002

PLUG

SN: 03044-UP

1шт.

9

YM27231-500000

PLUG

SN: 03044-UP

1шт.

10

YM26106-080202

BOLT

SN: 03044-UP

3шт.

11

YM23414-080000

GASKET

SN: 03044-UP

3шт.

12

YM719810-02800

MAIN METAL ASS'Y

SN: 03044-UP

4шт.

12

YM119810-02870

MAIN METAL ASS'Y,0.25MM (US)

SN: 03044-UP

4шт.

13

YM719810-02930

THRUST METAL ASS'Y

SN: 03044-UP

2шт.

13

YM119810-02940

THRUST METAL ASS'Y,0.25MM (US)

SN: 03044-UP

2шт.

14

YM119620-02020

BOLT

SN: 03044-UP

8шт.

|$16

YM129150-25101

IDLER GEAR ASS'Y

SN: 03044-UP

1шт.

15

0

GEAR

SN: 03044-UP

1шт.

16

YM129150-25061

BUSHING

SN: 03044-UP

1шт.

17

YM129100-25061

SHAFT

SN: 03044-UP

1шт.

18

YM26106-080452

BOLT

SN: 03044-UP

2шт.

19

YM171056-49120

PLUG,DRAIN

SN: 03044-UP

1шт.

20

YM121520-34810

GUIDE

SN: 03044-UP

1шт.

21

YM119600-34800

GAUGE,LEVEL

SN: 03044-UP

1шт.

Выбрано товаров: 24