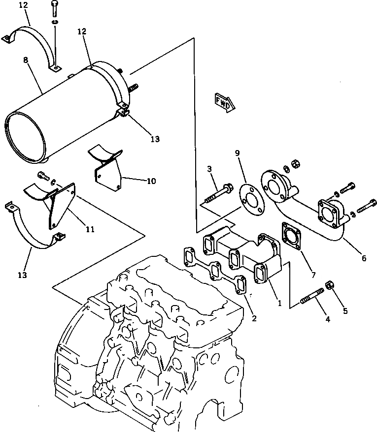
Запчасти Komatsu 3D78-1F ВЫПУСКНОЙ КОЛЛЕКТОР И ГЛУШИТЕЛЬ ГОЛОВКА ЦИЛИНДРОВ

Схема запчастей Komatsu 3D78-1F - ВЫПУСКНОЙ КОЛЛЕКТОР И ГЛУШИТЕЛЬ ГОЛОВКА ЦИЛИНДРОВ
FIT
1:1
100%

Артикул

Название

Примечание

Количество

1

YM129100-13110

MANIFOLD,EXHAUST

SN: 01589-UP

1шт.

2

YM129150-13110

GASKET (KIT)

SN: 01589-UP

1шт.

3

YM26106-080802

BOLT

SN: 01589-UP

4шт.

4

YM26216-080802

STUD

SN: 01589-UP

2шт.

5

YM194990-22050

NUT

SN: 01589-UP

2шт.

6

YM129130-13560

CONNECTOR

SN: 01589-UP

1шт.

7

YM124701-11910

GASKET (KIT)

SN: 01589-UP

1шт.

8

YM129130-13510

MUFFLER

SN: 01589-UP

1шт.

9

YM103954-13200

GASKET

SN: 01589-UP

1шт.

10

YM129130-13660

SUPPORT,L.H.

SN: 01589-UP

1шт.

11

YM129130-13650

SUPPORT,R.H.

SN: 01589-UP

1шт.

12

YM129111-13670

BAND,UPPER

SN: 01589-UP

2шт.

13

YM129111-13680

BAND,LOWER

SN: 01589-UP

2шт.

Выбрано товаров: 13