Запчасти Komatsu 3D82AE-3C ТОПЛ. НАСОС И ТРУБЫ ТОПЛИВН. СИСТЕМА

Схема запчастей Komatsu 3D82AE-3C - ТОПЛ. НАСОС И ТРУБЫ ТОПЛИВН. СИСТЕМА
FIT
1:1
100%

Артикул

Название

Примечание

Количество

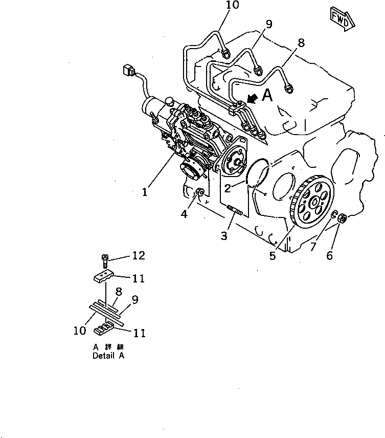
1

YM719824-51390

INJECTION PUMP A.,(SEE FIG.0451)

SN: 01208-UP

1шт.

2

YM121850-51960

O-RING (KIT)

SN: 01208-UP

1шт.

3

YM121450-01560

STUD

SN: 01208-UP

3шт.

4

YM26366-080002

NUT

SN: 01208-UP

3шт.

5

YM129150-25900

GEAR

SN: 01208-UP

1шт.

6

YM26716-120002

NUT

SN: 01208-UP

1шт.

7

YM22217-120000

WASHER,SPRING

SN: 01208-UP

1шт.

8

YM119810-59830

PIPE,INJECTION¤ NO.3

SN: 01208-UP

1шт.

9

YM119810-59820

PIPE,INJECTION¤ NO.2

SN: 01208-UP

1шт.

10

YM119810-59810

PIPE,INJECTION¤ NO.1

SN: 01208-UP

1шт.

11

YM129150-59120

CLAMP ASS'Y

SN: 01208-UP

1шт.

12

YM129150-59131

BOLT

SN: 01208-UP

2шт.

Выбрано товаров: 12