Запчасти Komatsu 3D84-1A РЕГУЛЯТОР ТОПЛИВН. СИСТЕМА

Схема запчастей Komatsu 3D84-1A - РЕГУЛЯТОР ТОПЛИВН. СИСТЕМА
FIT
1:1
100%

Артикул

Название

Примечание

Количество

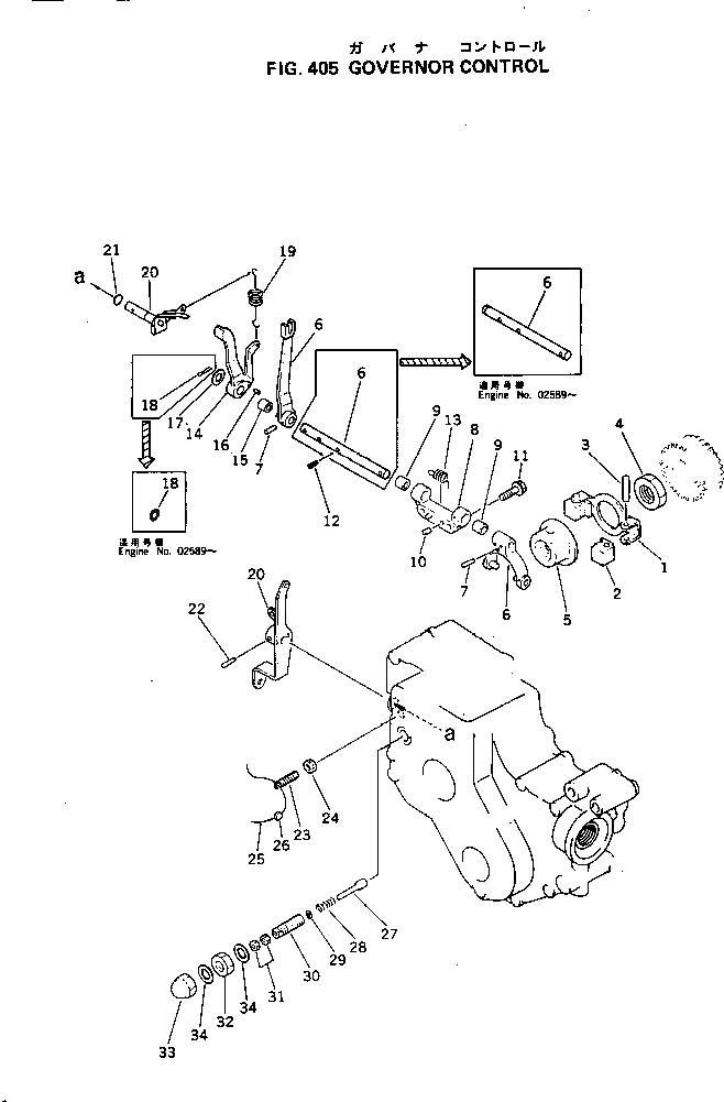
1

YM721450-61620

GOVERNOR WEIGHT A.

SN: 01001-UP

1шт.

2

0

WEIGHT

SN: 01001-UP

2шт.

3

0

PIN

SN: 01001-UP

2шт.

4

0

NUT

SN: 01001-UP

1шт.

5

YM129335-61600

SLEEVE

SN: .-UP

1шт.

|5

0

SLEEVE

SN: 01001-.

1шт.

|$$7

YM121575-61720){YM121575-61720)}

-1шт.

5A

YM121575-61710

BEARING,(NOT SHOWN)

SN: .-UP

1шт.

5B

YM121575-61720

COOLER,(NOT SHOWN)

SN: .-UP

1шт.

6

YM121451-61001

LEVER ASS'Y

SN: 02589-UP

1шт.

|6

YM121520-61000

GOVERNOR LEVER ASS'Y

SN: 01092-02588

1шт.

|6

YM121450-61000

GOVERNOR LEVER

SN: 01001-01091

1шт.

7

YM22322-030180

PIN

SN: 01001-UP

2шт.

8

YM121520-61620

SUPPORT

SN: 01092-UP

1шт.

|8

YM121450-61620

SUPPORT

SN: 01001-01091

1шт.

9

YM121520-61520

BEARING

SN: 01092-UP

2шт.

|9

YM121450-61520

BEARING

SN: 01001-01091

2шт.

10

YM22312-040080

PIN

SN: 01001-UP

2шт.

11

YM26106-060222

BOLT

SN: 05810-UP

2шт.

|11

YM26116-060222

BOLT

SN: 01001-05809

2шт.

12

YM22351-030010

PIN

SN: 01001-UP

1шт.

13

YM121450-61631

SPRING

SN: 01001-UP

1шт.

|14

YM121450-66180

LEVER ASS'Y

SN: 01001-UP

1шт.

14

0

LEVER

SN: 01001-UP

1шт.

15

YM121450-66170

BUSHING

SN: 01001-UP

1шт.

16

YM22312-030080

PIN

SN: 01001-UP

1шт.

17

YM22117-080000

WASHER

SN: 01001-UP

1шт.

18

YM22272-000060

RING

SN: 02589-UP

1шт.

|18

YM22411-300150

PIN

SN: 01001-02588

1шт.

19

YM129335-66010

SPRING

SN: .-UP

1шт.

|19

0

SPRING

SN: 01001-.

1шт.

20

YM129327-66000

REGULATOR HANDLE A.

SN: 01001-UP

1шт.

21

YM24311-000070

O-RING

SN: 01001-UP

1шт.

22

YM22322-030200

PIN

SN: 01001-UP

1шт.

23

YM121454-66420

SCREW

SN: 01001-UP

1шт.

24

YM124550-66370

NUT

SN: 01001-UP

1шт.

25

YM22451-100000

WIRE

SN: 01001-UP

1шт.

26

YM135210-61090

LEAD

SN: 01001-UP

1шт.

|27

YM121520-66550

SCREW ASS'Y

SN: 04437-UP

1шт.

|27

YM121022-66550

FUEL ADJUST SCREW A.

SN: 01001-04436

1шт.

27

0

PIN

SN: 04437-UP

1шт.

|27

0

PIN

SN: 01001-04436

1шт.

28

0

SPRING

SN: 04437-UP

1шт.

|28

0

SPRING

SN: 01001-04436

1шт.

29

0

SHIM

SN: 01001-UP

1шт.

30

0

GUIDE

SN: 01001-UP

1шт.

31

0

NUT

SN: 01001-UP

2шт.

32

YM129305-07950

NUT

SN: .-UP

1шт.

|32

0

NUT

SN: 01001-.

1шт.

33

YM26687-120002

NUT

SN: 01001-UP

1шт.

34

YM43400-500450

WASHER

SN: 01001-UP

2шт.

Выбрано товаров: 51