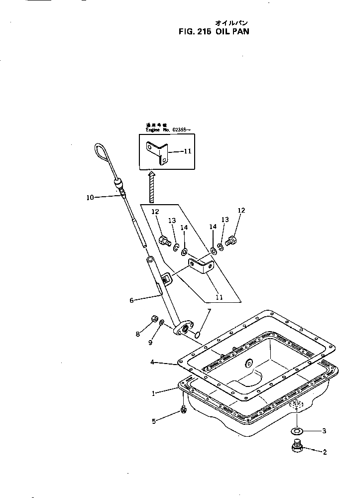
Запчасти Komatsu 3D84-1A МАСЛЯНЫЙ ПОДДОН БЛОК ЦИЛИНДРОВ

Схема запчастей Komatsu 3D84-1A - МАСЛЯНЫЙ ПОДДОН БЛОК ЦИЛИНДРОВ
FIT
1:1
100%

Артикул

Название

Примечание

Количество

|$0

YM729335-01540

OIL PAN ASS'Y

SN: 01001-UP

1шт.

1

0

PAN

SN: 01001-UP

1шт.

2

YM104200-55080

PLUG

SN: 01001-UP

1шт.

3

YM43400-500450

WASHER

SN: 01001-UP

1шт.

4

YM121575-01750

PACKING (KIT)

SN: 01001-UP

1шт.

5

YM121450-01710

BOLT

SN: 01001-UP

23шт.

6

YM121522-34850

GUIDE

SN: 01001-UP

1шт.

7

YM24311-000150

O-RING

SN: 01001-UP

1шт.

8

YM26363-060002

NUT

SN: 05810-UP

2шт.

8

YM26716-060002

NUT

SN: 01001-05809

2шт.

9

YM22217-060000

WASHER

SN: 01001-05809

2шт.

10

YM129335-34800

GAUGE

SN: 01001-UP

1шт.

11

YM129335-34841

BRACKET

SN: 02355-UP

1шт.

11

0

BRACKET

SN: 01001-02354

1шт.

12

YM26106-080162

BOLT

SN: 05810-UP

1шт.

12

YM26116-080162

BOLT

SN: 02355-05809

1шт.

12

YM26116-080162

BOLT

SN: 01001-02354

2шт.

13

YM22217-080000

WASHER

SN: 02355-UP

1шт.

13

YM22217-080000

WASHER

SN: 01001-02354

2шт.

14

YM22137-080000

WASHER

SN: 02355-UP

1шт.

14

YM22137-080000

WASHER

SN: 01001-02354

2шт.

Выбрано товаров: 21