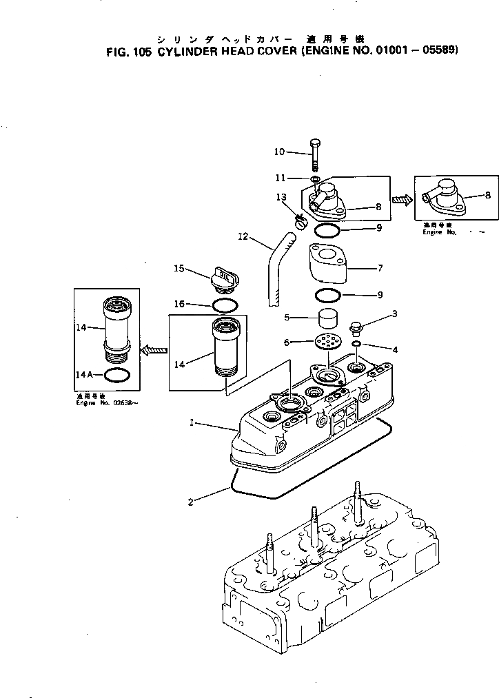
Запчасти Komatsu 3D84-1A ГОЛОВКА ЦИЛИНДРОВ COVER(№-89) ГОЛОВКА ЦИЛИНДРОВ

Схема запчастей Komatsu 3D84-1A - ГОЛОВКА ЦИЛИНДРОВ COVER(№-89) ГОЛОВКА ЦИЛИНДРОВ
FIT
1:1
100%

Артикул

Название

Примечание

Количество

1

YM129301-11300

COVER

SN: 01001-05589

1шт.

2

YM129350-11310

PACKING (KIT)

SN: 01001-@

1шт.

3

YM124160-11360

KNOB

SN: 01001-@

3шт.

4

YM24311-000120

O-RING (KIT)

SN: 01001-@

3шт.

5

YM128670-03040

ELEMENT

SN: 01001-05589

1шт.

6

YM121450-03020

RETAINER

SN: 01001-05589

1шт.

7

YM129335-03050

SPACER

SN: 01001-05589

1шт.

8

YM121450-03012

BODY

SN: .-05589

1шт.

8

0

BODY

SN: 01001-.

1шт.

9

YM24341-000400

O-RING (KIT)

SN: 01001-05589

2шт.

10

YM26116-080652

BOLT

SN: 01001-05589

2шт.

11

YM22117-080000

WASHER

SN: 01001-05589

2шт.

12

YM129335-03201

HOSE

SN: 01229-05589

1шт.

12

YM129335-03200

HOSE

SN: 01001-01228

1шт.

13

YM171008-03990

CLAMP

SN: 01001-05589

2шт.

14

YM171031-11741

FILLER

SN: 02638-@

1шт.

14

YM171031-11740

FILLER

SN: 01001-02637

1шт.

14A

YM121420-01760

O-RING

SN: 02638-@

1шт.

15

YM124160-01751

CAP

SN: 01001-@

1шт.

16

YM24311-000320

O-RING

SN: .-@

1шт.

16

0

O-RING

SN: 01001-.

1шт.

Выбрано товаров: 21