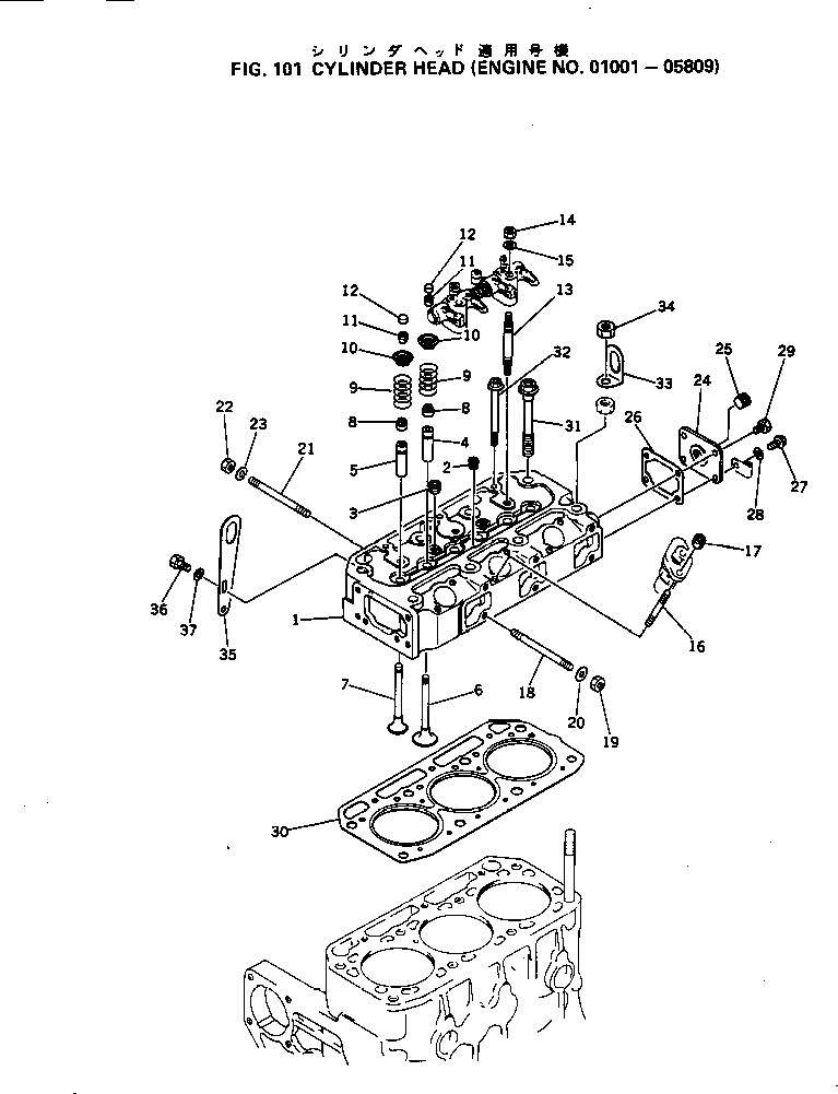
Запчасти Komatsu 3D84-1B ГОЛОВКА ЦИЛИНДРОВ(№-89) ГОЛОВКА ЦИЛИНДРОВ

Схема запчастей Komatsu 3D84-1B - ГОЛОВКА ЦИЛИНДРОВ(№-89) ГОЛОВКА ЦИЛИНДРОВ
FIT
1:1
100%

Артикул

Название

Примечание

Количество

|$0

YM729335-11700

CYLINDER HEAD A.

SN: 01001-05809

1шт.

1

0

HEAD

SN: 01001-05809

1шт.

2

YM23871-020000

PLUG

SN: 01001-@

1шт.

3

YM23871-030000

PLUG

SN: 01001-@

2шт.

4

YM124450-11161

GUIDE

SN: 01001-@

3шт.

5

YM129300-11170

GUIDE

SN: .-@

3шт.

5

0

GUIDE

SN: 01001-.

3шт.

6

YM129350-11100

VALVE,INTAKE

SN: 01001-05809

3шт.

7

YM129350-11110

VALVE,EXHAUST

SN: 01001-05809

3шт.

8

YM124460-11340

SEAL

SN: 01001-@

6шт.

9

YM104511-11120

SPRING

SN: 01001-@

6шт.

10

YM103338-11180

SEAT

SN: 01001-@

6шт.

11

YM103338-11190

COTTER

SN: 01001-@

6шт.

12

YM104511-11370

CAP

SN: 01001-@

6шт.

13

YM105225-11350

STUD

SN: 01001-@

3шт.

14

YM26776-100002

NUT

SN: 01001-@

3шт.

15

YM22137-100000

WASHER

SN: 01001-@

3шт.

16

YM26216-080652

STUD

SN: 01001-@

6шт.

17

YM26716-080002

NUT

SN: 01001-@

6шт.

18

YM26216-081002

STUD

SN: 01001-@

6шт.

19

YM26716-080002

NUT

SN: 01001-@

6шт.

20

YM22137-080000

WASHER

SN: 01001-@

6шт.

21

YM26216-080652

STUD

SN: 01001-@

2шт.

22

YM26716-080002

NUT

SN: 01001-@

2шт.

23

YM22217-080000

WASHER

SN: 01001-@

2шт.

24

YM129301-11670

COVER

SN: 01001-@

1шт.

25

YM23871-030000

PLUG

SN: 01001-@

1шт.

26

YM121450-11680

PACKING

SN: 01001-@

1шт.

27

YM121250-01710

BOLT

SN: 01001-@

1шт.

28

YM22137-080000

WASHER

SN: 01001-@

1шт.

29

YM26116-080122

BOLT

SN: 01001-05809

3шт.

30

YM129322-01330

GASKET (KIT)

SN: ..-05809

1шт.

30

0

GASKET (KIT)

SN: .-..

1шт.

30

0

GASKET (KIT)

SN: 01001-.

1шт.

31

YM129350-01200

BOLT

SN: 01001-@

6шт.

32

YM129350-01230

BOLT

SN: 01001-@

3шт.

33

YM121575-07230

HOOK

SN: 01001-@

1шт.

34

YM26776-120002

NUT

SN: 01001-@

1шт.

35

YM124736-07900

HOOK

SN: 01001-@

1шт.

36

YM26116-080162

BOLT

SN: 01001-05809

2шт.

37

YM22117-080000

WASHER

SN: 01001-05809

2шт.

Выбрано товаров: 41