Запчасти Komatsu 3D84-1C ГОЛОВКА ЦИЛИНДРОВ ГОЛОВКА ЦИЛИНДРОВ

Схема запчастей Komatsu 3D84-1C - ГОЛОВКА ЦИЛИНДРОВ ГОЛОВКА ЦИЛИНДРОВ
FIT
1:1
100%

Артикул

Название

Примечание

Количество

|$0

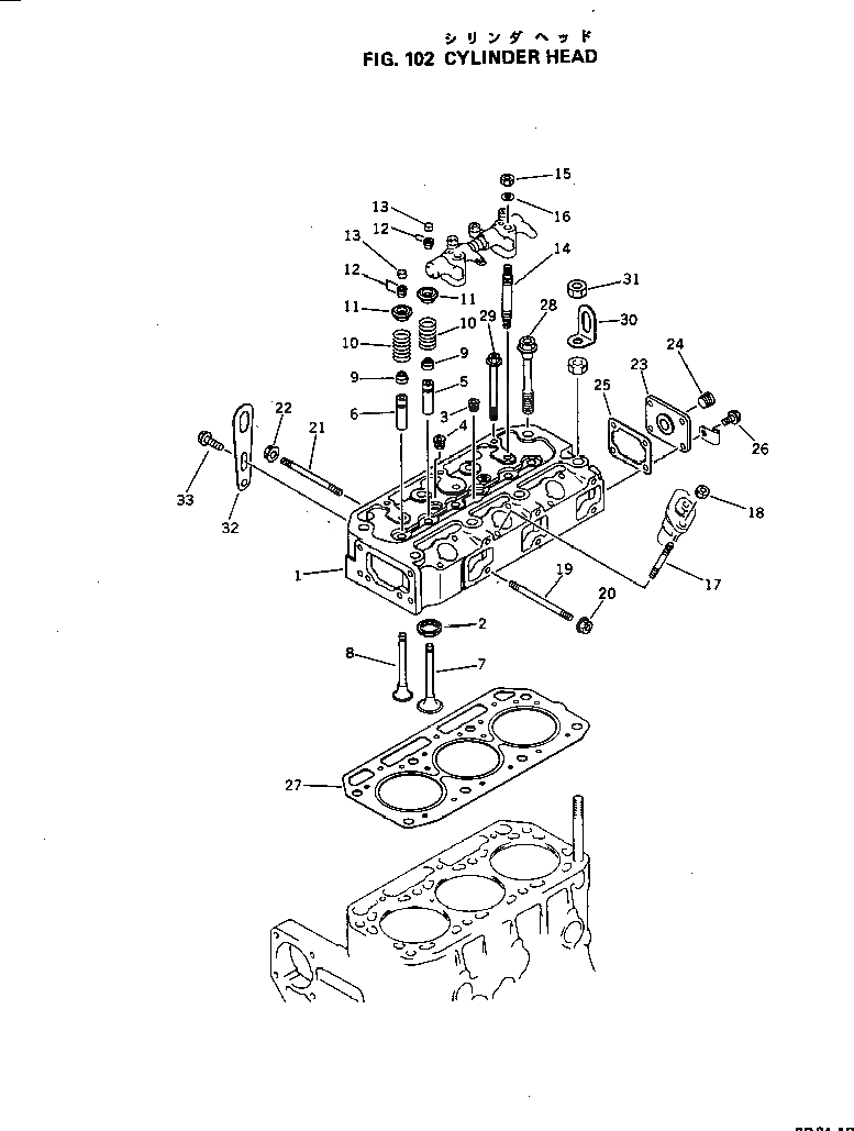
YM771058-11700

CYLINDER HEAD A.

SN: 01001-UP

1шт.

|$1

YM129300-11000

CYLINDER HEAD ASS'Y

SN: 01001-UP

1шт.

1

0

HEAD

SN: 01001-UP

1шт.

2

YM129322-11080

SEAT

SN: 01001-UP

3шт.

3

YM23871-020000

PLUG

SN: 01001-UP

1шт.

4

YM23871-030000

PLUG

SN: 01001-UP

2шт.

5

YM124450-11161

GUIDE

SN: 01001-UP

3шт.

6

YM129300-11170

GUIDE

SN: 01001-UP

3шт.

7

YM129322-11100

VALVE,INTAKE

SN: 01001-UP

3шт.

8

YM129322-11110

VALVE,EXHAUST

SN: 01001-UP

3шт.

9

YM124460-11340

SEAL

SN: 01001-UP

6шт.

10

YM104511-11120

SPRING

SN: 01001-UP

6шт.

11

YM103338-11180

SEAT

SN: 01001-UP

6шт.

12

YM103338-11190

COTTER

SN: 01001-UP

6шт.

13

YM104511-11370

CAP

SN: 01001-UP

6шт.

14

YM105225-11350

STUD

SN: 01001-UP

3шт.

15

YM26696-100002

NUT

SN: 01001-UP

3шт.

16

YM22137-100000

WASHER

SN: 01001-UP

3шт.

17

YM26216-080652

STUD

SN: 01001-UP

6шт.

18

YM121465-11950

NUT

SN: 01001-UP

6шт.

19

YM26216-080952

STUD

SN: 01001-UP

6шт.

20

YM26366-080002

NUT

SN: 01001-UP

6шт.

21

YM26216-080652

STUD

SN: 01001-UP

2шт.

22

YM26366-080002

NUT

SN: 01001-UP

2шт.

23

YM129301-11670

COVER

SN: 01001-UP

1шт.

24

YM23871-030000

PLUG

SN: 01001-UP

1шт.

25

YM121450-11680

PACKING

SN: 01001-UP

1шт.

26

YM26106-080122

BOLT

SN: 01001-UP

4шт.

27

YM129322-01330

GASKET (KIT)

SN: .-UP

1шт.

27

0

GASKET

SN: 01001-.

1шт.

28

YM129350-01200

BOLT

SN: 01001-UP

6шт.

29

YM129350-01230

BOLT

SN: 01001-UP

3шт.

30

YM121575-07230

HOOK

SN: 01001-UP

1шт.

31

YM129305-07950

NUT

SN: 01001-UP

1шт.

32

YM124736-07900

HOOK

SN: 01001-UP

1шт.

33

YM26106-080162

BOLT

SN: 01001-UP

2шт.

|$0

YM771058-11700

CYLINDER HEAD A.

SN: 01001-UP

1шт.

|$1

YM129300-11000

CYLINDER HEAD ASS'Y

SN: 01001-UP

1шт.

1

0

HEAD

SN: 01001-UP

1шт.

2

YM129322-11080

SEAT

SN: 01001-UP

3шт.

3

YM23871-020000

PLUG

SN: 01001-UP

1шт.

4

YM23871-030000

PLUG

SN: 01001-UP

2шт.

5

YM124450-11161

GUIDE

SN: 01001-UP

3шт.

6

YM129300-11170

GUIDE

SN: 01001-UP

3шт.

7

YM129322-11100

VALVE,INTAKE

SN: 01001-UP

3шт.

8

YM129322-11110

VALVE,EXHAUST

SN: 01001-UP

3шт.

9

YM124460-11340

SEAL

SN: 01001-UP

6шт.

10

YM104511-11120

SPRING

SN: 01001-UP

6шт.

11

YM103338-11180

SEAT

SN: 01001-UP

6шт.

12

YM103338-11190

COTTER

SN: 01001-UP

6шт.

13

YM104511-11370

CAP

SN: 01001-UP

6шт.

14

YM105225-11350

STUD

SN: 01001-UP

3шт.

15

YM26696-100002

NUT

SN: 01001-UP

3шт.

16

YM22137-100000

WASHER

SN: 01001-UP

3шт.

17

YM26216-080652

STUD

SN: 01001-UP

6шт.

18

YM121465-11950

NUT

SN: 01001-UP

6шт.

19

YM26216-080952

STUD

SN: 01001-UP

6шт.

20

YM26366-080002

NUT

SN: 01001-UP

6шт.

21

YM26216-080652

STUD

SN: 01001-UP

2шт.

22

YM26366-080002

NUT

SN: 01001-UP

2шт.

23

YM129301-11670

COVER

SN: 01001-UP

1шт.

24

YM23871-030000

PLUG

SN: 01001-UP

1шт.

25

YM121450-11680

PACKING

SN: 01001-UP

1шт.

26

YM26106-080122

BOLT

SN: 01001-UP

4шт.

27

YM129322-01330

GASKET (KIT)

SN: .-UP

1шт.

27

0

GASKET

SN: 01001-.

1шт.

28

YM129350-01200

BOLT

SN: 01001-UP

6шт.

29

YM129350-01230

BOLT

SN: 01001-UP

3шт.

30

YM121575-07230

HOOK

SN: 01001-UP

1шт.

31

YM129305-07950

NUT

SN: 01001-UP

1шт.

32

YM124736-07900

HOOK

SN: 01001-UP

1шт.

33

YM26106-080162

BOLT

SN: 01001-UP

2шт.

Выбрано товаров: 72