Запчасти Komatsu 3D84-1G ТОПЛ. НАСОС И ТРУБЫ ТОПЛИВН. СИСТЕМА

Схема запчастей Komatsu 3D84-1G - ТОПЛ. НАСОС И ТРУБЫ ТОПЛИВН. СИСТЕМА
FIT
1:1
100%

Артикул

Название

Примечание

Количество

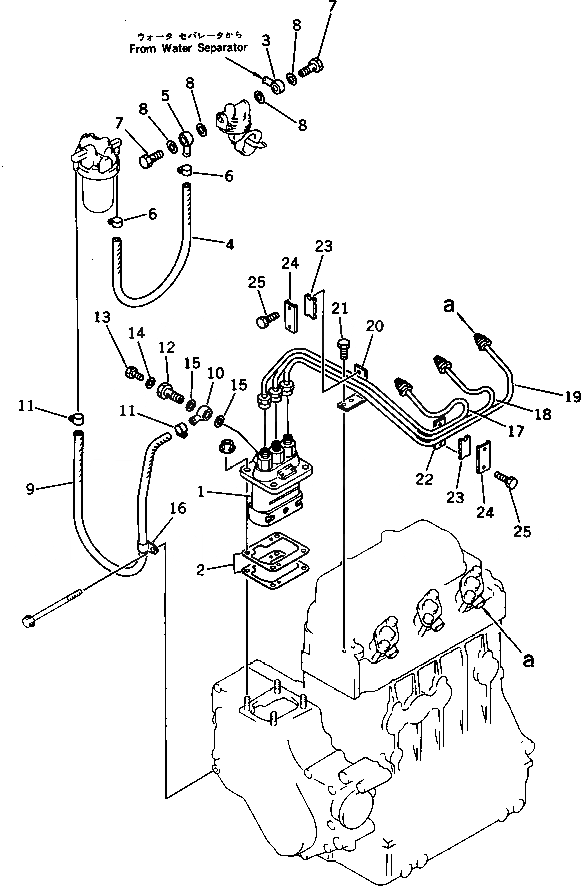
1

YM729336-51100

INJECTION PUMP A.,(SEE FIG.0451)

SN: 13022-UP

1шт.

2

YM121450-01951

SHIM ASS'Y

SN: 13022-UP

1шт.

3

YM104264-59030

JOINT,BALL

SN: 13022-UP

1шт.

|4

YM129335-59021

HOSE ASS'Y

SN: 13022-UP

1шт.

4

YM105225-59561

HOSE

SN: 13022-UP

1шт.

5

YM104264-59030

JOINT

SN: 13022-UP

1шт.

6

YM23000-013000

CLAMP

SN: 13022-UP

2шт.

7

YM105582-59150

BOLT,JOINT

SN: 13022-UP

2шт.

8

YM23414-080012

GASKET

SN: 13022-UP

4шт.

|9

YM129335-59011

HOSE ASS'Y

SN: 13022-UP

1шт.

9

YM121459-77690

HOSE

SN: 13022-UP

1шт.

10

YM101304-59020

JOINT

SN: 13022-UP

1шт.

11

YM23000-013000

CLAMP

SN: 13022-UP

2шт.

|12

YM103854-59191

BOLT ASS'Y

SN: 13022-UP

1шт.

12

YM103854-59201

BOLT,JOINT

SN: 13022-UP

1шт.

13

YM124060-59380

PLUG

SN: 13022-UP

1шт.

14

YM43400-500390

WASHER,SEAL

SN: 13022-UP

1шт.

15

YM104200-59170

GASKET

SN: 13022-UP

2шт.

16

YM124160-01650

CLIP

SN: 13022-UP

1шт.

17

YM129335-59830

PIPE,INJECTION¤ NO.1

SN: 13022-UP

1шт.

18

YM129335-59820

PIPE,INJECTION¤ NO.2

SN: 13022-UP

1шт.

19

YM129335-59810

PIPE,INJECTION¤ NO.3

SN: 13022-UP

1шт.

20

YM121450-59850

BRACKET

SN: 13022-UP

1шт.

21

YM26116-060102

BOLT

SN: 13022-UP

2шт.

22

YM121250-59860

PLATE

SN: 13022-UP

1шт.

23

YM123325-59100

SPACER

SN: 13022-UP

2шт.

24

YM123325-59110

COVER

SN: 13022-UP

2шт.

25

YM121465-59950

BOLT

SN: 13022-UP

4шт.

Выбрано товаров: 28