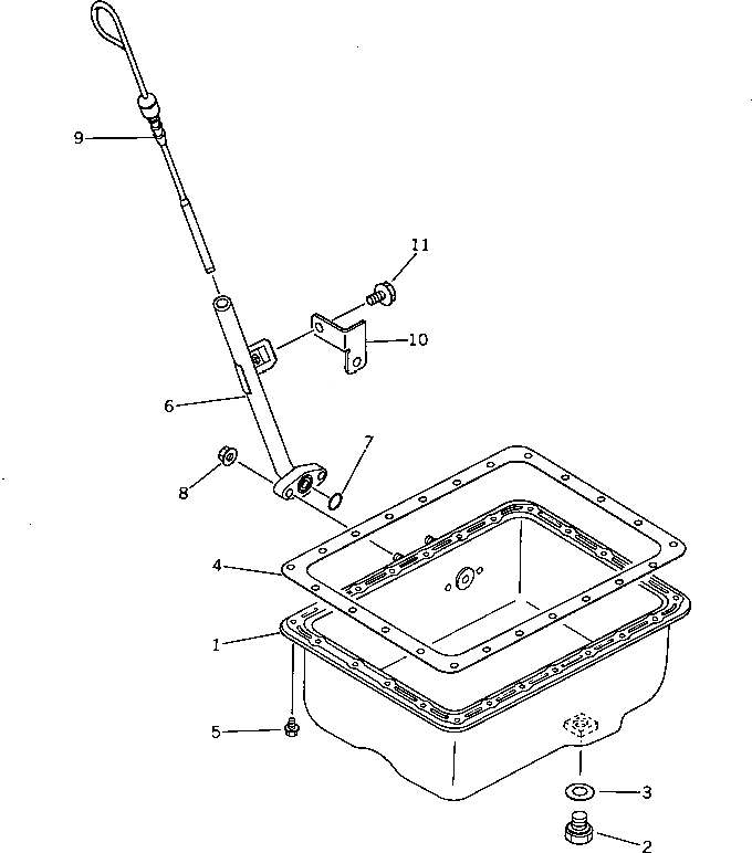
Запчасти Komatsu 3D84-1GA МАСЛЯНЫЙ ПОДДОН(№-) БЛОК ЦИЛИНДРОВ

Схема запчастей Komatsu 3D84-1GA - МАСЛЯНЫЙ ПОДДОН(№-) БЛОК ЦИЛИНДРОВ
FIT
1:1
100%

Артикул

Название

Примечание

Количество

|1

YM729335-01541

OIL PAN ASS'Y

SN: 35226-UP

1шт.

1

0

PAN,OIL

SN: 35226-UP

1шт.

2

YM104200-55080

PLUG,DRAIN

SN: 25919-UP

1шт.

3

YM43400-500450

WASHER,SEAL

SN: 25919-UP

1шт.

4

YM121575-01750

PACKING (KIT)

SN: 25919-UP

1шт.

5

YM121450-01710

BOLT

SN: 25919-UP

23шт.

6

YM121522-34850

GUIDE,OIL GAUGE

SN: 25919-UP

1шт.

7

YM24311-000150

O-RING

SN: 25919-UP

1шт.

8

YM26363-060002

NUT

SN: 25919-UP

2шт.

9

YM129335-34800

GAUGE,LEVEL

SN: 25919-UP

1шт.

10

YM129335-34841

BRACKET

SN: 25919-UP

1шт.

11

YM26106-080162

BOLT

SN: 25919-UP

1шт.

Выбрано товаров: 12