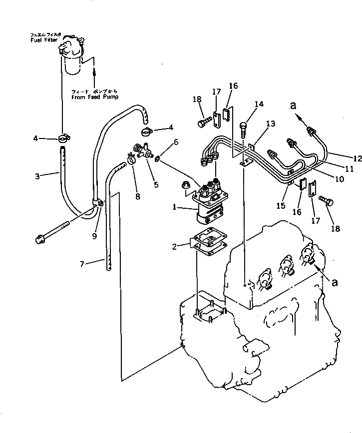
Запчасти Komatsu 3D84-1H ТОПЛ. НАСОС И ТРУБЫ(№887-978) ТОПЛИВН. СИСТЕМА

Схема запчастей Komatsu 3D84-1H - ТОПЛ. НАСОС И ТРУБЫ(№887-978) ТОПЛИВН. СИСТЕМА
FIT
1:1
100%

Артикул

Название

Примечание

Количество

1

YM729335-51101

INJECTION PUMP A.,(SEE FIG.0451)

SN: 18873-@

1шт.

2

YM121450-01951

SHIM ASS'Y

SN: 18873-@

1шт.

3

YM129450-49160

HOSE

SN: 18873-19738

1шт.

4

YM23000-013000

CLAMP

SN: 18873-@

2шт.

5

YM129155-59190

BALL JOINT ASS'Y

SN: 18873-19738

1шт.

6

YM104200-59170

GASKET

SN: 18873-@

1шт.

7

YM23061-060350

TUBE

SN: 18873-19738

1шт.

8

YM124066-59100

CLAMP

SN: 18873-@

1шт.

9

YM124160-01650

CLIP

SN: 18873-@

1шт.

10

YM129335-59830

PIPE,INJECTION¤ NO.1

SN: 18873-@

1шт.

11

YM129335-59820

PIPE,INJECTION¤ NO.2

SN: 18873-@

1шт.

12

YM129335-59810

PIPE,INJECTION¤ NO.3

SN: 18873-@

1шт.

13

YM121450-59850

BRACKET

SN: 18873-@

1шт.

14

YM26116-060102

BOLT

SN: 18873-@

2шт.

15

YM121250-59860

PLATE

SN: 18873-@

1шт.

16

YM123325-59100

SPACER

SN: 18873-@

2шт.

17

YM123325-59110

COVER

SN: 18873-@

2шт.

18

YM121465-59950

BOLT

SN: 18873-@

4шт.

Выбрано товаров: 18