Запчасти Komatsu 3D84-1H ТОПЛИВН. ФИЛЬТР. ТОПЛИВН. СИСТЕМА

Схема запчастей Komatsu 3D84-1H - ТОПЛИВН. ФИЛЬТР. ТОПЛИВН. СИСТЕМА
FIT
1:1
100%

Артикул

Название

Примечание

Количество

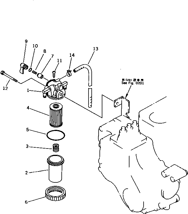
|1

YM119640-55600

FUEL FILTER ASS'Y

SN: 18873-UP

1шт.

1

0

BODY

SN: 18873-UP

1шт.

2

YM121254-55510

CASE

SN: 18873-UP

1шт.

3

YM121250-55620

SPRING

SN: 18873-UP

1шт.

4

YM124550-55700

ELEMENT

SN: 18873-UP

1шт.

5

YM102103-55520

O-RING

SN: 18873-UP

1шт.

6

YM110250-55610

RING

SN: 18873-UP

1шт.

7

YM104200-55321

VALVE

SN: 18873-UP

1шт.

8

YM104200-55330

SPRING

SN: 18873-UP

1шт.

9

YM104200-55341

LEVER

SN: 18873-UP

1шт.

10

YM24311-240100

O-RING

SN: 18873-UP

1шт.

11

YM104200-55750

SCREW

SN: 18873-UP

1шт.

12

YM26014-080702

BOLT

SN: 29993-UP

1шт.

|12

YM26106-080652

BOLT

SN: 18873-29992

1шт.

13

YM23061-060500

TUBE

SN: 19739-UP

1шт.

|13

YM23061-060350

TUBE

SN: 18873-19738

1шт.

14

YM124066-59100

CLAMP

SN: 18873-UP

1шт.

Выбрано товаров: 17