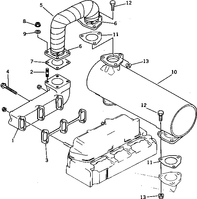
Запчасти Komatsu 3D84-1H ВЫПУСКНОЙ КОЛЛЕКТОР И ГЛУШИТЕЛЬ(№887-) ГОЛОВКА ЦИЛИНДРОВ

Схема запчастей Komatsu 3D84-1H - ВЫПУСКНОЙ КОЛЛЕКТОР И ГЛУШИТЕЛЬ(№887-) ГОЛОВКА ЦИЛИНДРОВ
FIT
1:1
100%

Артикул

Название

Примечание

Количество

|1

YM729301-13500

MANIFOLD ASS'Y

SN: 18873-24624

1шт.

1

0

MANIFOLD,EXHAUST

SN: 18873-24624

1шт.

2

YM26216-080222

STUD

SN: 18873-@

4шт.

3

YM129322-13520

GASKET (KIT)

SN: 18873-@

1шт.

4

YM121465-13652

BOLT

SN: 18873-@

4шт.

5

YM129335-13540

PIPE ASS'Y

SN: 18873-24624

1шт.

6

YM23000-060000

CLAMP

SN: 18873-24624

2шт.

7

YM124701-11910

GASKET (KIT)

SN: 18873-@

1шт.

8

YM26366-080002

NUT

SN: 18873-@

4шт.

9

YM22217-080000

WASHER,SPRING

SN: 18873-@

4шт.

10

YM171056-13501

MUFFLER

SN: 18873-24624

1шт.

11

YM124250-13210

GASKET (KIT)

SN: 18873-24624

2шт.

12

YM26206-100302

BOLT

SN: 18873-24624

6шт.

13

YM26366-100002

NUT

SN: 18873-24624

6шт.

Выбрано товаров: 14