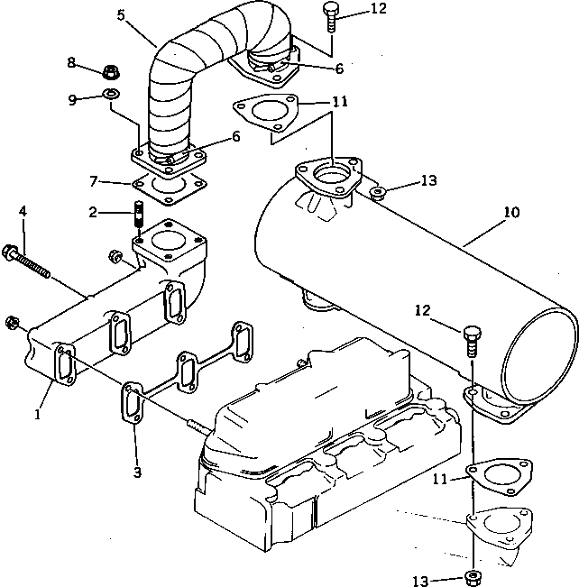
Запчасти Komatsu 3D84-1J ВЫПУСКНОЙ КОЛЛЕКТОР И ГЛУШИТЕЛЬ(№99-7789) ГОЛОВКА ЦИЛИНДРОВ

Схема запчастей Komatsu 3D84-1J - ВЫПУСКНОЙ КОЛЛЕКТОР И ГЛУШИТЕЛЬ(№99-7789) ГОЛОВКА ЦИЛИНДРОВ
FIT
1:1
100%

Артикул

Название

Примечание

Количество

|1

YM729301-13500

MANIFOLD ASS'Y

SN: 19229-27789

1шт.

1

0

MANIFOLD,EXHAUST

SN: 19229-27789

1шт.

2

YM26216-080222

STUD

SN: 19229-@

4шт.

3

YM129322-13520

GASKET (KIT)

SN: 19229-@

1шт.

4

YM121465-13652

BOLT

SN: 19229-@

4шт.

5

YM129335-13540

PIPE ASS'Y

SN: 19229-27789

1шт.

6

YM23000-060000

CLAMP

SN: 19229-27789

2шт.

7

YM124701-11910

GASKET (KIT)

SN: 19229-@

1шт.

8

YM26366-080002

NUT

SN: 19229-@

4шт.

9

YM22217-080000

WASHER,SPRING

SN: 19229-@

4шт.

10

YM171056-13501

MUFFLER

SN: 19229-27789

1шт.

|10

YM171056-13509

MUFFLER,(TBG SPEC.)

SN: 19229-@

1шт.

11

YM124250-13210

GASKET (KIT)

SN: 19229-27789

2шт.

12

YM26206-100302

BOLT

SN: 19229-27789

6шт.

13

YM26366-100002

NUT

SN: 19229-27789

6шт.

Выбрано товаров: 15