Запчасти Komatsu 3D94-2A ГОЛОВКА ЦИЛИНДРОВ COVER ГОЛОВКА ЦИЛИНДРОВ

Схема запчастей Komatsu 3D94-2A - ГОЛОВКА ЦИЛИНДРОВ COVER ГОЛОВКА ЦИЛИНДРОВ
FIT
1:1
100%

Артикул

Название

Примечание

Количество

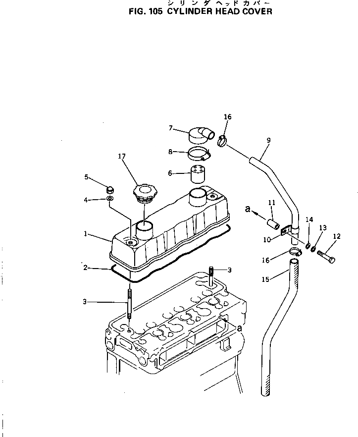
1

6143-11-8111

COVER,HEAD

SN: .-UP

1шт.

1

6143-11-8110

COVER,HEAD

SN: 10001-.

1шт.

2

6143-11-8810

O-RING (K1)

SN: 10001-UP

1шт.

3

6142-11-8120

STUD

SN: 10001-UP

2шт.

4

07005-01012

GASKET (K1)

SN: 10001-UP

2шт.

5

01546-01015

NUT

SN: 10001-UP

2шт.

6

6130-12-8910

BREATHER

SN: 10001-UP

1шт.

7

6130-12-8931

COVER

SN: 10001-UP

1шт.

8

07281-00609

CLAMP

SN: 10001-UP

1шт.

9

6144-11-8911

PIPE

SN: 10001-UP

1шт.

10

6144-11-8960

CLIP

SN: 10001-UP

1шт.

11

6143-11-4290

SPACER

SN: 10001-UP

1шт.

12

01010-30885

BOLT

SN: 10001-UP

1шт.

13

01602-00825

WASHER,SPRING

SN: 10001-UP

1шт.

14

01641-20812

WASHER

SN: 10001-UP

1шт.

15

6144-11-8851

HOSE

SN: 10001-UP

1шт.

16

6144-11-8880

CLAMP

SN: 10001-UP

2шт.

17

6130-12-8610

CAP

SN: 10001-UP

1шт.

Выбрано товаров: 18