Запчасти Komatsu 3D94-2A ГЛУШИТЕЛЬ(№8-) ГОЛОВКА ЦИЛИНДРОВ

Схема запчастей Komatsu 3D94-2A - ГЛУШИТЕЛЬ(№8-) ГОЛОВКА ЦИЛИНДРОВ
FIT
1:1
100%

Артикул

Название

Примечание

Количество

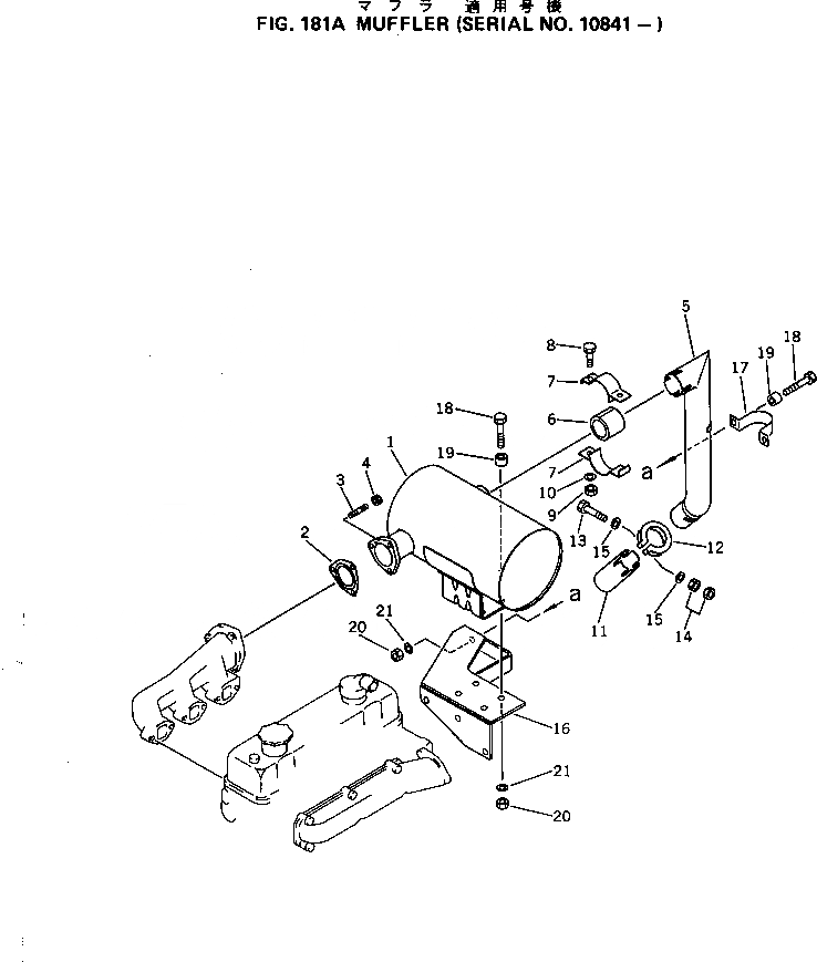
1

6143-11-5511

MUFFLER

SN: 10841-UP

1шт.

2

6144-11-5821

GASKET (K1)

SN: 10001-UP

1шт.

3

01140-61025

STUD

SN: 10001-UP

3шт.

4

6142-12-5850

NUT

SN: 10001-UP

3шт.

5

6143-11-5712

PIPE,EXHAUST

SN: .-UP

1шт.

5

0

PIPE,EXHAUST

SN: 10841-.

1шт.

6

6143-11-5860

COVER

SN: 10841-UP

1шт.

7

6143-11-5920

CLAMP

SN: 10841-UP

2шт.

8

01010-31030

BOLT

SN: 10841-UP

2шт.

9

01580-21008

NUT

SN: 10841-UP

2шт.

10

01641-21016

WASHER

SN: 10841-UP

2шт.

11

6143-11-5720

PIPE,EXHAUST

SN: 10841-UP

1шт.

12

6141-11-5740

CLAMP

SN: 10001-UP

1шт.

13

01010-31070

BOLT

SN: 10001-UP

1шт.

14

01580-21008

NUT

SN: 10001-UP

2шт.

15

01641-21016

WASHER

SN: 10001-UP

2шт.

16

6143-11-5621

BRACKET

SN: .-UP

1шт.

16

0

BRACKET

SN: 10841-.

1шт.

17

6143-11-5911

CLAMP

SN: 10841-UP

1шт.

18

01010-31040

BOLT

SN: 10841-UP

6шт.

19

6631-11-5630

SPACER

SN: 10841-UP

6шт.

20

01580-01008

NUT

SN: 10841-UP

6шт.

21

01643-31032

WASHER

SN: 10841-UP

6шт.

Выбрано товаров: 23