Запчасти Komatsu 3D95S-W-1C БЛОК ЦИЛИНДРОВ БЛОК ЦИЛИНДРОВ

Схема запчастей Komatsu 3D95S-W-1C - БЛОК ЦИЛИНДРОВ БЛОК ЦИЛИНДРОВ
FIT
1:1
100%

Артикул

Название

Примечание

Количество

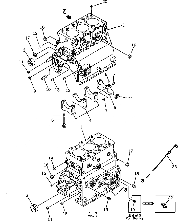
|1

6201-21-1101

CYLINDER BLOCK ASS'Y

SN: 13018-UP

1шт.

|1

0

CYLINDER BLOCK ASS'Y

SN: 10467-13017

1шт.

1

0

BLOCK,CYLINDER

SN: 13018-UP

1шт.

|1

0

BLOCK,CYLINDER

SN: 10467-13017

1шт.

2

6204-21-1410

BUSHING,CAMSHAFT

SN: 10467-UP

1шт.

3

6206-21-1420

BUSHING,CAMSHAFT

SN: 13018-UP

2шт.

4

0

CAP,MAIN METAL¤ NO.1¤2¤3

SN: 10467-UP

3шт.

5

0

CAP,MAIN METAL¤ NO.4

SN: 10467-UP

1шт.

6

6141-21-1530

RING,DOWEL

SN: 10467-UP

2шт.

7

04025-00408

PIN,SPRING

SN: 13018-UP

4шт.

|7

04025-00408

PIN,SPRING

SN: 10467-13017

6шт.

8

6204-21-1610

BOLT,MAIN CAP

SN: 10467-UP

8шт.

9

6204-51-1711

BUSHING,OIL PUMP

SN: 14176-UP

1шт.

|9

0

BUSHING,OIL PUMP

SN: 10467-14175

1шт.

10

6204-51-1620

SHAFT,OIL PUMP

SN: 10467-UP

1шт.

11

07046-41810

PLUG

SN: 12442-UP

4шт.

|11

0

PLUG

SN: 10467-12441

4шт.

12

04020-00820

PIN,DOWEL

SN: 10467-UP

2шт.

13

6136-52-1620

PIN,DOWEL

SN: 14176-UP

1шт.

14

07046-42216

PLUG

SN: 10467-UP

1шт.

15

04020-01228

PIN,DOWEL

SN: 10467-UP

2шт.

16

07046-43016

PLUG

SN: 10467-UP

5шт.

17

07046-42516

PLUG

SN: .-UP

4шт.

|17

07046-42516

PLUG

SN: 10467-.

3шт.

18

07042-10312

PLUG

SN: 10817-UP

1шт.

|18

0

PLUG

SN: 10467-10816

1шт.

19

07043-50108

PLUG

SN: 10467-UP

3шт.

20

6140-21-1130

BUSHING,DOWEL

SN: 10467-UP

2шт.

21

6201-21-1810

GASKET (K2)

SN: 10467-UP

2шт.

22

08073-00505

SWITCH,OIL PRESSURE

SN: 10467-UP

1шт.

23

6201-21-5321

GAUGE,OIL

SN: 14176-UP

1шт.

|23

6201-21-5310

GAUGE,OIL

SN: 10467-14175

1шт.

Выбрано товаров: 32