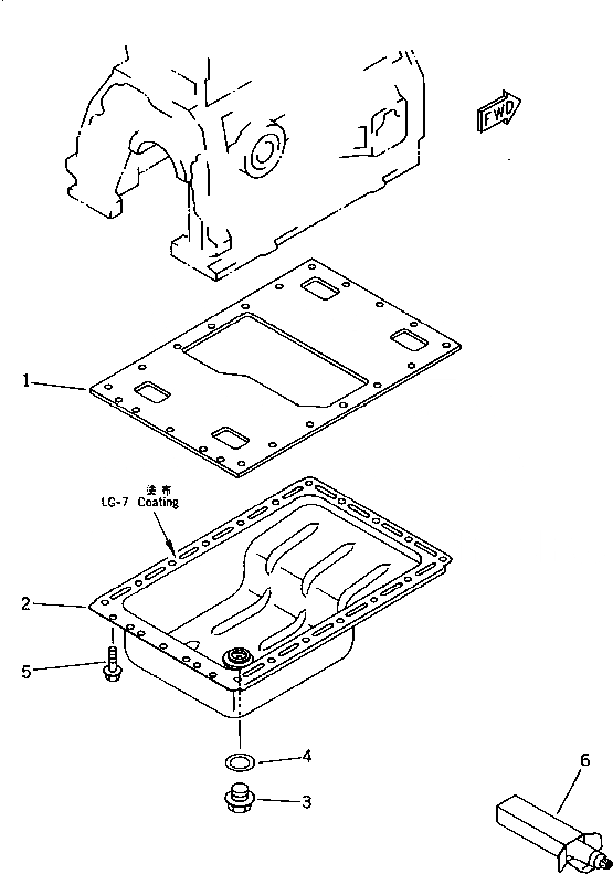
Запчасти Komatsu 3D95S-W-1C МАСЛЯНЫЙ ПОДДОН(№8-) БЛОК ЦИЛИНДРОВ

Схема запчастей Komatsu 3D95S-W-1C - МАСЛЯНЫЙ ПОДДОН(№8-) БЛОК ЦИЛИНДРОВ
FIT
1:1
100%

Артикул

Название

Примечание

Количество

1

6201-21-5151

PLATE

SN: 10575-UP

1шт.

2

6201-21-5111

PAN,OIL

SN: 16481-UP

1шт.

3

6204-21-5180

PLUG,DRAIN

SN: 10467-UP

1шт.

4

07005-02216

GASKET (K2)

SN: 14176-UP

1шт.

5

01435-00816

BOLT

SN: 16480-UP

24шт.

6

09920-00150

LIQUID GASKET,LG-7¤ 150G

SN: 10467-UP

-2шт.

Выбрано товаров: 6