Запчасти Komatsu 4D105-2F ВПУСК ВОЗДУХА СОЕДИН-Е И ВОЗДУХООЧИСТИТЕЛЬ ГОЛОВКА ЦИЛИНДРОВ

Схема запчастей Komatsu 4D105-2F - ВПУСК ВОЗДУХА СОЕДИН-Е И ВОЗДУХООЧИСТИТЕЛЬ ГОЛОВКА ЦИЛИНДРОВ
FIT
1:1
100%

Артикул

Название

Примечание

Количество

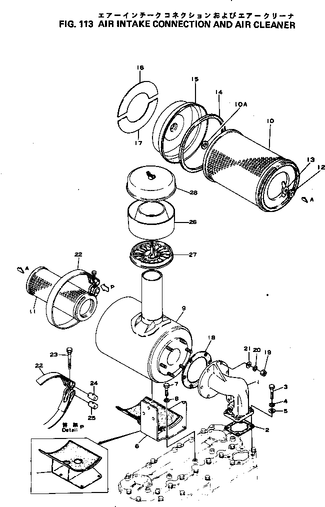
1

6130-11-4110

CONNECTOR,AIR INTAKE

SN: 42463-UP

1шт.

|1

6130-11-4211

CONNECTOR,AIR INTAKE

SN: 30000-42462

1шт.

2

6130-11-4811

GASKET (K1)

SN: 30000-UP

1шт.

3

01010-30830

BOLT

SN: 30000-UP

4шт.

4

01602-00825

WASHER,SPRING

SN: 30000-UP

4шт.

5

01640-20816

WASHER

SN: 30000-UP

4шт.

6

6130-11-4313

BRACKET

SN: 30000-UP

1шт.

7

01010-30822

BOLT

SN: 30000-UP

3шт.

8

01602-00825

WASHER,SPRING

SN: 30000-UP

3шт.

|9

600-181-5600

AIR CLEANER ASS'Y

SN: 30000-UP

1шт.

9

600-181-5610

BODY

SN: 30000-UP

1шт.

|10

600-181-9300

ELEMENT ASS'Y

SN: 30000-UP

1шт.

10

600-181-9220

ELEMENT,OUTER

SN: 30000-UP

1шт.

10A

600-181-7440

GASKET

SN: 30000-UP

1шт.

11

600-181-9320

ELEMENT,INNER

SN: 30000-UP

1шт.

|11

600-181-7251

ELEMENT,INNER (URETHER)

SN: 30000-UP

1шт.

12

600-181-7510

WASHER

SN: 30000-UP

1шт.

13

600-181-7620

NUT,WING

SN: 30000-UP

1шт.

14

600-181-9410

PACKING

SN: 30000-UP

1шт.

15

600-181-9130

COVER

SN: 30000-UP

1шт.

16

600-181-9710

PLATE

SN: 30000-UP

1шт.

17

600-181-9720

PLATE

SN: 30000-UP

1шт.

18

6110-11-4430

GASKET (K1)

SN: 30000-UP

1шт.

19

01580-00806

NUT

SN: 30000-UP

6шт.

20

01602-00825

WASHER,SPRING

SN: 30000-UP

6шт.

21

01640-20816

WASHER

SN: 30000-UP

6шт.

22

6130-11-4511

BAND

SN: 30000-UP

1шт.

23

6110-23-6520

BOLT

SN: 30000-UP

1шт.

24

6110-21-6530

PIN

SN: 30000-UP

1шт.

25

6110-21-6540

PIN¤ WITH THREAD

SN: 30000-UP

1шт.

|26

600-181-9140

PRE-CLEANER ASS'Y

SN: 31350-UP

1шт.

|26

0

PRE-CLEANER ASS'Y

SN: 30000-31349

1шт.

26

6110-83-9110

BODY

SN: 30000-UP

1шт.

27

600-181-9150

SLEEVE

SN: 31350-UP

1шт.

|27

0

SLEEVE

SN: 30000-31349

1шт.

28

6110-83-9130

COVER

SN: 30000-UP

1шт.

1

6130-11-4110

CONNECTOR,AIR INTAKE

SN: 42463-UP

1шт.

|1

6130-11-4211

CONNECTOR,AIR INTAKE

SN: 30000-42462

1шт.

2

6130-11-4811

GASKET (K1)

SN: 30000-UP

1шт.

3

01010-30830

BOLT

SN: 30000-UP

4шт.

4

01602-00825

WASHER,SPRING

SN: 30000-UP

4шт.

5

01640-20816

WASHER

SN: 30000-UP

4шт.

6

6130-11-4313

BRACKET

SN: 30000-UP

1шт.

7

01010-30822

BOLT

SN: 30000-UP

3шт.

8

01602-00825

WASHER,SPRING

SN: 30000-UP

3шт.

|9

600-181-5600

AIR CLEANER ASS'Y

SN: 30000-UP

1шт.

9

600-181-5610

BODY

SN: 30000-UP

1шт.

|10

600-181-9300

ELEMENT ASS'Y

SN: 30000-UP

1шт.

10

600-181-9220

ELEMENT,OUTER

SN: 30000-UP

1шт.

10A

600-181-7440

GASKET

SN: 30000-UP

1шт.

11

600-181-9320

ELEMENT,INNER

SN: 30000-UP

1шт.

|11

600-181-7251

ELEMENT,INNER (URETHER)

SN: 30000-UP

1шт.

12

600-181-7510

WASHER

SN: 30000-UP

1шт.

13

600-181-7620

NUT,WING

SN: 30000-UP

1шт.

14

600-181-9410

PACKING

SN: 30000-UP

1шт.

15

600-181-9130

COVER

SN: 30000-UP

1шт.

16

600-181-9710

PLATE

SN: 30000-UP

1шт.

17

600-181-9720

PLATE

SN: 30000-UP

1шт.

18

6110-11-4430

GASKET (K1)

SN: 30000-UP

1шт.

19

01580-00806

NUT

SN: 30000-UP

6шт.

20

01602-00825

WASHER,SPRING

SN: 30000-UP

6шт.

21

01640-20816

WASHER

SN: 30000-UP

6шт.

22

6130-11-4511

BAND

SN: 30000-UP

1шт.

23

6110-23-6520

BOLT

SN: 30000-UP

1шт.

24

6110-21-6530

PIN

SN: 30000-UP

1шт.

25

6110-21-6540

PIN¤ WITH THREAD

SN: 30000-UP

1шт.

|26

600-181-9140

PRE-CLEANER ASS'Y

SN: 31350-UP

1шт.

|26

0

PRE-CLEANER ASS'Y

SN: 30000-31349

1шт.

26

6110-83-9110

BODY

SN: 30000-UP

1шт.

27

600-181-9150

SLEEVE

SN: 31350-UP

1шт.

|27

0

SLEEVE

SN: 30000-31349

1шт.

28

6110-83-9130

COVER

SN: 30000-UP

1шт.

Выбрано товаров: 0