Запчасти Komatsu 4D105-2H ВПУСК ВОЗДУХА СОЕДИН-Е И ВОЗДУХООЧИСТИТЕЛЬ (TROPICAL¤ПЕСЧАН. S.) ОПЦИОННЫЕ КОМПОНЕНТЫ

Схема запчастей Komatsu 4D105-2H - ВПУСК ВОЗДУХА СОЕДИН-Е И ВОЗДУХООЧИСТИТЕЛЬ (TROPICAL¤ПЕСЧАН. S.) ОПЦИОННЫЕ КОМПОНЕНТЫ
FIT
1:1
100%

Артикул

Название

Примечание

Количество

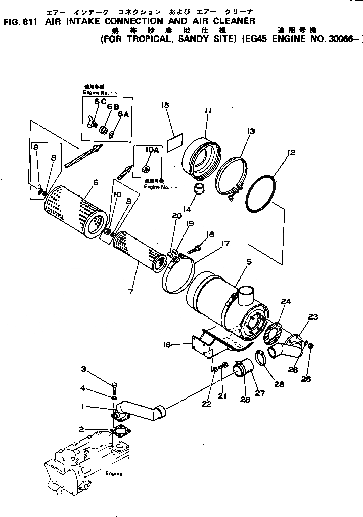
1

6130-11-4150

CONNECTOR,AIR INTAKE (FOR O.MAN)

SN: 32927-32932

1шт.

2

6130-11-4811

GASKET (K1)

SN: 30066-UP

1шт.

3

01010-30825

BOLT

SN: 30066-UP

4шт.

4

01602-00825

WASHER,SPRING

SN: 30066-UP

4шт.

|$4

6131-82-7901

AIR CLEANER ASS'Y

SN: .-UP

1шт.

|$5

0

AIR CLEANER ASS'Y

SN: 30066-.

1шт.

5

6131-82-7111

BODY

SN: 30066-UP

1шт.

|$7

6131-82-7011

ELEMENT ASS'Y

SN: .-UP

1шт.

|$8

0

ELEMENT ASS'Y

SN: 30066-.

1шт.

|$9

600-181-8300

ELEMENT ASS'Y,OUTER (PARTS OF 6131-82-7011)

SN: .-UP

1шт.

6

600-181-8260

ELEMENT,OUTER

SN: 30066-UP

1шт.

6A

04064-01510

RING,SNAP

SN: .-UP

1шт.

6B

600-181-7511

WASHER,SEAL

SN: .-UP

1шт.

6C

600-181-8640

NUT,WING

SN: .-UP

1шт.

7

600-181-8360

ELEMENT,INNER

SN: 30066-UP

1шт.

8

600-181-7511

WASHER,SEAL

SN: 30066-.

2шт.

9

600-181-7620

NUT,WING

SN: 30066-.

1шт.

10

600-181-9630

WASHER

SN: 30066-.

1шт.

10A

600-181-9631

NUT

SN: .-UP

1шт.

11

600-181-8590

PAN,DUST

SN: 30066-UP

1шт.

12

600-181-8490

O-RING

SN: 30066-UP

1шт.

13

600-181-8580

CLAMP

SN: 30066-UP

1шт.

14

600-181-2480

VALVE

SN: 30066-UP

1шт.

15

09637-30160

PLATE, INSTRUCTION,(EXCEPT JAPAN)

SN: 30066-UP

1шт.

16

6130-11-4350

BRACKET,(FOR O.MAN)

SN: 32927-32932

1шт.

17

6131-11-4520

BAND ASS'Y

SN: 30066-UP

2шт.

18

6643-11-4641

BOLT

SN: 30066-UP

2шт.

19

6643-11-4620

PIN

SN: 30066-UP

2шт.

20

6643-11-4630

PIN, WITH THREAD

SN: 30066-UP

2шт.

21

01010-31020

BOLT

SN: 30066-UP

4шт.

22

01602-01030

WASHER,SPRING

SN: 30066-UP

4шт.

23

6130-11-4160

CONNECTOR

SN: 32927-32932

1шт.

24

6110-11-4430

GASKET

SN: 30066-UP

1шт.

25

01580-00806

NUT

SN: 30066-UP

6шт.

26

01602-00825

WASHER,SPRING

SN: 30066-UP

6шт.

27

6131-11-4610

HOSE

SN: 32927-32932

1шт.

28

600-714-1240

CLAMP

SN: 30066-UP

2шт.

Выбрано товаров: 37