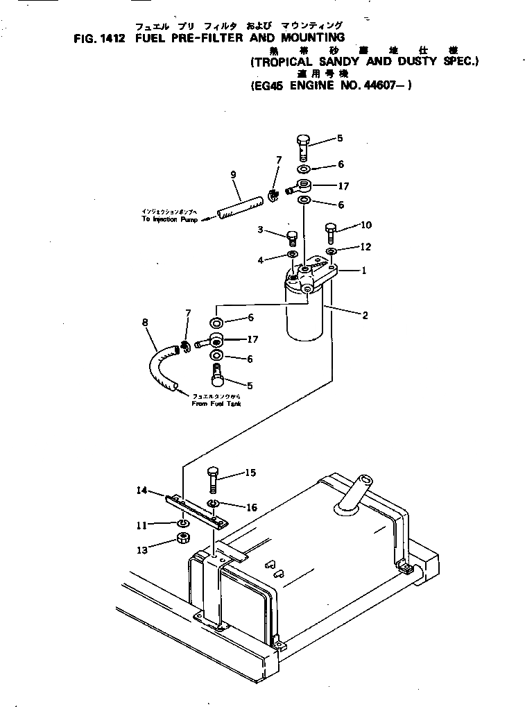
Запчасти Komatsu 4D105-3H ТОПЛИВН. PREФИЛЬТР. И КРЕПЛЕНИЕ (TROPICAL ЗАПЫЛЕНН СПЕЦ-Я.) ТОПЛИВН. СИСТЕМА

Схема запчастей Komatsu 4D105-3H - ТОПЛИВН. PREФИЛЬТР. И КРЕПЛЕНИЕ (TROPICAL ЗАПЫЛЕНН СПЕЦ-Я.) ТОПЛИВН. СИСТЕМА
FIT
1:1
100%

Артикул

Название

Примечание

Количество

|$0

6130-72-6100

FUEL FILTER ASS'Y

SN: 44607-UP

1шт.

1

600-311-8020

COVER

SN: 44607-UP

1шт.

2

600-311-8220

CARTRIDGE

SN: 44607-UP

1шт.

3

600-311-6720

PLUG

SN: 44607-UP

1шт.

4

07005-00812

GASKET

SN: 44607-UP

1шт.

5

07206-11014

BOLT,JOINT

SN: 44607-UP

2шт.

6

07005-01412

GASKET

SN: 44607-UP

4шт.

7

07280-01210

CLAMP

SN: 44607-UP

2шт.

8

TEHA095050

HOSE,L=500

SN: 44607-UP

1шт.

9

TEHA095070

HOSE,L=700

SN: 44607-UP

1шт.

10

01010-31035

BOLT

SN: 44607-UP

2шт.

11

01602-01030

WASHER,SPRING

SN: 44607-UP

2шт.

12

01640-01016

WASHER

SN: 44607-UP

2шт.

13

01580-01008

NUT

SN: 44607-UP

2шт.

14

6992-11-2650

BRACKET

SN: 44607-UP

1шт.

15

01010-31025

BOLT

SN: 44607-UP

2шт.

16

01602-01030

WASHER,SPRING

SN: 44607-UP

2шт.

17

6144-71-5750

JOINT,EYE

SN: 44607-UP

2шт.

Выбрано товаров: 18