Запчасти Komatsu 4D105-3H INTAKE ВОЗД. ОБОГРЕВАТЕЛЬ. ТОПЛИВН. СИСТЕМА

Схема запчастей Komatsu 4D105-3H - INTAKE ВОЗД. ОБОГРЕВАТЕЛЬ. ТОПЛИВН. СИСТЕМА
FIT
1:1
100%

Артикул

Название

Примечание

Количество

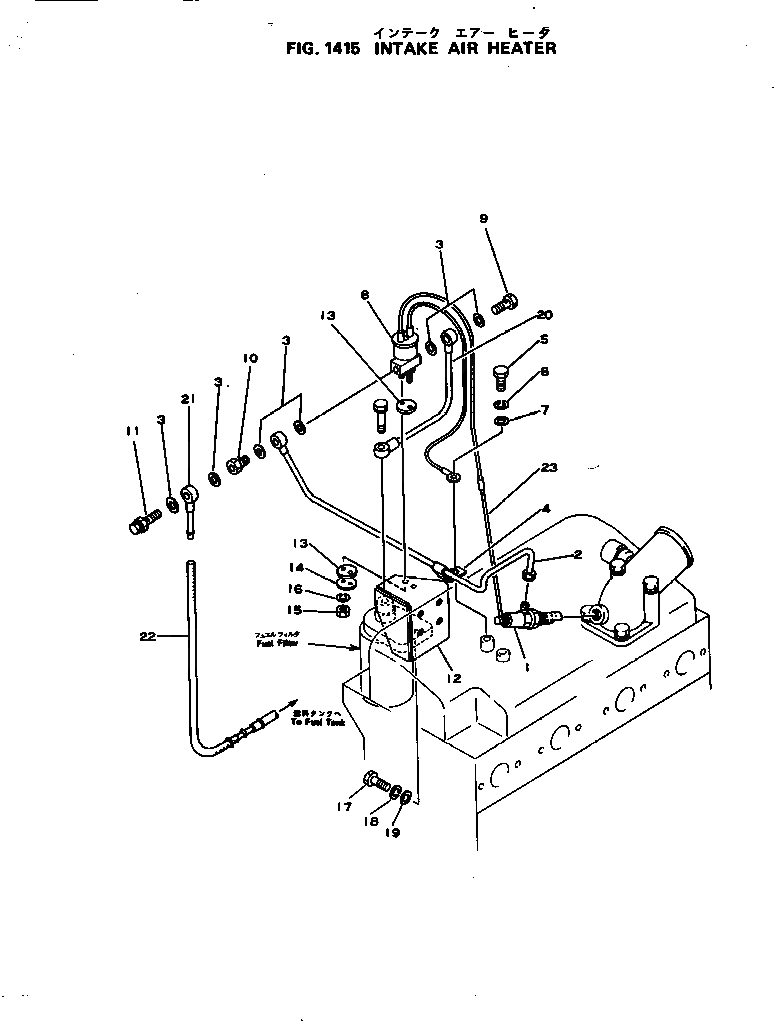
1

6130-82-4110

HEATER,INTAKE AIR

SN: 44607-UP

1шт.

2

6130-82-4420

PIPE

SN: 44607-UP

1шт.

3

07005-01212

GASKET (K1)

SN: 44607-UP

6шт.

4

6130-82-4430

CLIP

SN: 44607-UP

1шт.

5

01010-30816

BOLT

SN: 44607-UP

1шт.

6

01602-00825

WASHER,SPRING

SN: 44607-UP

1шт.

7

01640-20816

WASHER

SN: 44607-UP

1шт.

8

6132-81-4622

MAGNET VALVE ASS'Y

SN: 44607-UP

1шт.

9

6130-82-4270

BOLT,JOINT

SN: 44607-UP

1шт.

10

6130-82-4280

BOLT,JOINT

SN: 44607-UP

1шт.

11

6130-82-4261

OVERFLOW VALVE A.

SN: 45491-UP

1шт.

11

0

OVERFLOW VALVE A.

SN: 44607-45490

1шт.

12

6130-12-8510

BRACKET

SN: 44607-UP

1шт.

13

6130-82-4310

PACKING

SN: 44607-UP

2шт.

14

6130-82-4320

WASHER

SN: 44607-UP

1шт.

15

01580-00605

NUT

SN: 44607-UP

2шт.

16

01602-00619

WASHER,SPRING

SN: 44607-UP

2шт.

17

01010-31020

BOLT

SN: 44607-UP

4шт.

18

01602-01030

WASHER,SPRING

SN: 44607-UP

4шт.

19

01640-01016

WASHER

SN: 44607-UP

4шт.

20

6130-82-4440

PIPE

SN: .-UP

1шт.

20

0

PIPE

SN: 44607-.

1шт.

21

6130-82-4230

PIPE

SN: 44607-UP

1шт.

22

6130-82-4610

HOSE

SN: 44607-UP

1шт.

23

6130-82-4130

WIRE

SN: 44607-UP

1шт.

Выбрано товаров: 25