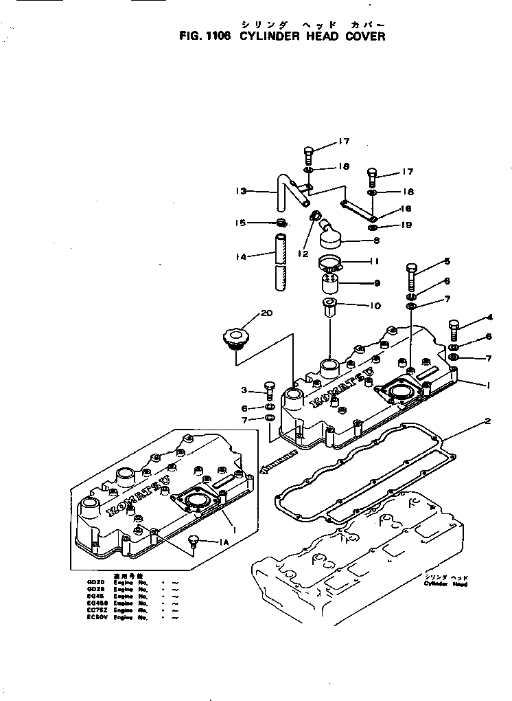
Запчасти Komatsu 4D105-3J ГОЛОВКА ЦИЛИНДРОВ COVER ГОЛОВКА ЦИЛИНДРОВ

Схема запчастей Komatsu 4D105-3J - ГОЛОВКА ЦИЛИНДРОВ COVER ГОЛОВКА ЦИЛИНДРОВ
FIT
1:1
100%

Артикул

Название

Примечание

Количество

1

6130-12-8115

COVER,HEAD

SN: .-UP

1шт.

1

0

COVER,HEAD

SN: 44607-.

1шт.

|$$3

(6130-12-8115,6114-11-8910(2))

-1шт.

1A

6114-11-8910

PLUG

SN: .-UP

2шт.

2

6130-11-7820

GASKET (K1)

SN: 44607-UP

1шт.

3

01010-30850

BOLT

SN: 44607-UP

8шт.

4

01010-30870

BOLT

SN: 44607-UP

4шт.

5

01010-30890

BOLT

SN: 44607-UP

3шт.

6

01602-00825

WASHER,SPRING

SN: 44607-UP

15шт.

7

01640-20816

WASHER

SN: 44607-UP

15шт.

8

6130-12-8931

COVER

SN: 44607-UP

1шт.

9

6130-12-8910

BREATHER

SN: 44607-UP

1шт.

10

6130-12-8920

BAFFLE

SN: 44607-UP

1шт.

11

07281-00709

CLAMP

SN: 44607-UP

1шт.

12

07281-00359

CLAMP

SN: 44607-UP

1шт.

13

6130-12-8850

PIPE

SN: 44607-UP

1шт.

14

6131-12-8860

HOSE,(FOR EG45)

SN: 44607-UP

1шт.

14

6130-15-8850

HOSE,(FOR EG45S)

SN: 40000-44606

1шт.

15

07280-02523

CLAMP

SN: 44607-UP

1шт.

16

6130-12-8860

BRACKET

SN: 44607-UP

1шт.

17

01010-30820

BOLT

SN: 44607-UP

2шт.

18

01602-00825

WASHER,SPRING

SN: 44607-UP

2шт.

19

01643-31032

WASHER

SN: 44607-UP

1шт.

20

6130-12-8610

CAP

SN: 44607-UP

1шт.

Выбрано товаров: 24