Запчасти Komatsu 4D105-3L ВЫПУСКНОЙ КОЛЛЕКТОР И ГЛУШИТЕЛЬ ГОЛОВКА ЦИЛИНДРОВ

Схема запчастей Komatsu 4D105-3L - ВЫПУСКНОЙ КОЛЛЕКТОР И ГЛУШИТЕЛЬ ГОЛОВКА ЦИЛИНДРОВ
FIT
1:1
100%

Артикул

Название

Примечание

Количество

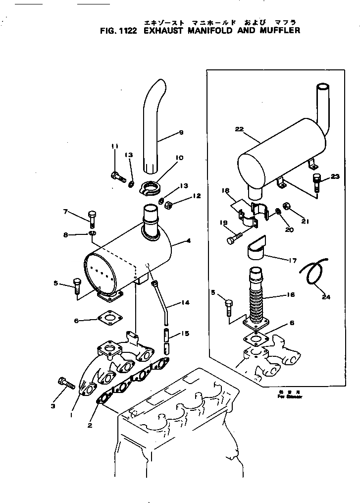
1

6130-11-5110

MANIFOLD,EXHAUST

SN: 40027-UP

1шт.

2

6132-11-5810

GASKET (K1)

SN: 40717-UP

1шт.

2

0

GASKET

SN: 40027-40716

1шт.

3

01010-61030

BOLT

SN: 40027-UP

8шт.

4

6130-11-5410

MUFFLER

SN: 40027-UP

1шт.

5

01010-61040

BOLT

SN: 40027-UP

4шт.

6

6130-12-5580

GASKET (K1)

SN: 40717-UP

1шт.

6

0

GASKET

SN: 40027-40716

1шт.

7

01010-61020

BOLT

SN: 40027-UP

2шт.

8

01602-01030

WASHER,SPRING

SN: 40027-UP

2шт.

9

6130-15-5710

PIPE,EXHAUST

SN: 40027-UP

1шт.

10

6130-11-5910

CLAMP

SN: 40027-UP

1шт.

11

01050-31285

BOLT

SN: 40027-UP

1шт.

12

01582-01210

NUT,LOCK

SN: 40027-UP

1шт.

13

01640-21223

WASHER

SN: 40027-UP

2шт.

14

6130-11-5650

PIPE

SN: 40027-UP

1шт.

15

07260-20945

HOSE

SN: 42559-UP

1шт.

15

0

HOSE

SN: 40027-42558

1шт.

16

M720170804331

BELLOWS,EXHAUST (SILENCED TYPE)

SN: 40027-UP

1шт.

17

M710040343411

COVER,(SILENCED TYPE)

SN: 40027-UP

1шт.

18

M720040304340

BAND,(SILENCED TYPE)

SN: 40027-UP

2шт.

19

M018010800306

BOLT,(SILENCED TYPE)

SN: 40027-UP

4шт.

20

M011600080006

WASHER,SPRING (SILENCED TYPE)

SN: 40027-UP

4шт.

21

M018200800006

NUT,(SILENCED TYPE)

SN: 40027-UP

4шт.

22

6130-15-5511

MUFFLER,(SILENCED TYPE)

SN: 40027-UP

1шт.

23

M800919008202

BOLT,(SILENCED TYPE)

SN: 40027-UP

4шт.

24

M710040343420

WIRE,(SILENCED TYPE)

SN: 40027-UP

1шт.

Выбрано товаров: 27