Запчасти Komatsu 4D105-5B ПЕРЕДН. COVER БЛОК ЦИЛИНДРОВ

Схема запчастей Komatsu 4D105-5B - ПЕРЕДН. COVER БЛОК ЦИЛИНДРОВ
FIT
1:1
100%

Артикул

Название

Примечание

Количество

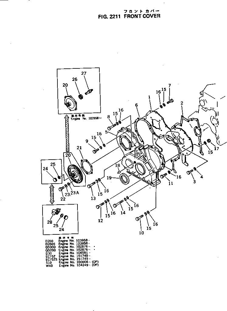
1

6134-22-3210

PLATE,FRONT

SN: 150001-UP

1шт.

|1

0

PLATE,FRONT

SN: 100006-149999

1шт.

2

6136-21-3821

GASKET (K2)

SN: 101493-UP

1шт.

|2

0

GASKET (K2)

SN: 100006-101492

1шт.

3

01010-30822

BOLT

SN: 100006-UP

4шт.

4

01602-00825

WASHER,SPRING

SN: 100006-UP

4шт.

5

6134-21-3111

COVER,FRONT

SN: 100049-UP

1шт.

|5

6134-21-3110

COVER,FRONT

SN: 100006-100048

1шт.

6

6134-21-3810

GASKET (K2)

SN: 100006-UP

1шт.

7

01010-30825

BOLT

SN: 100006-UP

5шт.

8

01010-30870

BOLT

SN: 100006-UP

3шт.

9

01010-30830

BOLT

SN: 100006-UP

3шт.

10

01010-30860

BOLT

SN: 100049-UP

1шт.

|10

01010-30830

BOLT

SN: 100006-100048

1шт.

11

01010-30840

BOLT

SN: 100006-UP

2шт.

12

01010-30855

BOLT

SN: 100006-UP

1шт.

13

01010-30880

BOLT

SN: 100049-UP

1шт.

|13

01010-30855

BOLT

SN: 100006-100048

1шт.

14

01010-30890

BOLT

SN: 100006-UP

2шт.

15

01602-00825

WASHER,SPRING

SN: 100006-UP

18шт.

16

01640-00816

WASHER

SN: 100006-UP

18шт.

17

01580-00806

NUT

SN: 100006-UP

1шт.

18

6136-21-3310

POINTER

SN: 100006-100048

1шт.

19

6136-21-3510

SEAL¤ FRONT (K2)

SN: 100006-UP

1шт.

20

6134-21-3620

COVER,FRONT

SN: 103958-UP

1шт.

|20

0

COVER,FRONT

SN: 100006-103957

1шт.

|$$27

(6134-21-3620{6136-81-3951¤}

-1шт.

|$$28

6610-71-1911)

-1шт.

21

6134-21-3830

GASKET (K2)

SN: 100006-UP

1шт.

22

01010-50825

BOLT

SN: 103958-UP

6шт.

|22

01010-30820

BOLT

SN: 100006-103957

6шт.

23

01602-20825

WASHER,SPRING

SN: 103958-UP

6шт.

|23

01602-00825

WASHER,SPRING

SN: 100006-103957

6шт.

23A

01640-20816

WASHER

SN: 103958-UP

6шт.

24

6136-81-5291

CAP

SN: 100006-UP

1шт.

25

6130-82-5270

GASKET

SN: 100006-UP

1шт.

26

6150-71-1910

SEAL,OIL (K2)

SN: 103958-UP

1шт.

27

6136-81-3951

SHAFT

SN: 103958-UP

1шт.

|27

6136-81-3910

SHAFT

SN: 102876-103957

1шт.

28

6136-81-5220

ADAPTER

SN: 100006-UP

1шт.

1

6134-22-3210

PLATE,FRONT

SN: 150001-UP

1шт.

|1

0

PLATE,FRONT

SN: 100006-149999

1шт.

2

6136-21-3821

GASKET (K2)

SN: 101493-UP

1шт.

|2

0

GASKET (K2)

SN: 100006-101492

1шт.

3

01010-30822

BOLT

SN: 100006-UP

4шт.

4

01602-00825

WASHER,SPRING

SN: 100006-UP

4шт.

5

6134-21-3111

COVER,FRONT

SN: 100049-UP

1шт.

|5

6134-21-3110

COVER,FRONT

SN: 100006-100048

1шт.

6

6134-21-3810

GASKET (K2)

SN: 100006-UP

1шт.

7

01010-30825

BOLT

SN: 100006-UP

5шт.

8

01010-30870

BOLT

SN: 100006-UP

3шт.

9

01010-30830

BOLT

SN: 100006-UP

3шт.

10

01010-30860

BOLT

SN: 100049-UP

1шт.

|10

01010-30830

BOLT

SN: 100006-100048

1шт.

11

01010-30840

BOLT

SN: 100006-UP

2шт.

12

01010-30855

BOLT

SN: 100006-UP

1шт.

13

01010-30880

BOLT

SN: 100049-UP

1шт.

|13

01010-30855

BOLT

SN: 100006-100048

1шт.

14

01010-30890

BOLT

SN: 100006-UP

2шт.

15

01602-00825

WASHER,SPRING

SN: 100006-UP

18шт.

16

01640-00816

WASHER

SN: 100006-UP

18шт.

17

01580-00806

NUT

SN: 100006-UP

1шт.

18

6136-21-3310

POINTER

SN: 100006-100048

1шт.

19

6136-21-3510

SEAL¤ FRONT (K2)

SN: 100006-UP

1шт.

20

6134-21-3620

COVER,FRONT

SN: 103958-UP

1шт.

|20

0

COVER,FRONT

SN: 100006-103957

1шт.

|$$27

(6134-21-3620{6136-81-3951¤}

-1шт.

|$$28

6610-71-1911)

-1шт.

21

6134-21-3830

GASKET (K2)

SN: 100006-UP

1шт.

22

01010-50825

BOLT

SN: 103958-UP

6шт.

|22

01010-30820

BOLT

SN: 100006-103957

6шт.

23

01602-20825

WASHER,SPRING

SN: 103958-UP

6шт.

|23

01602-00825

WASHER,SPRING

SN: 100006-103957

6шт.

23A

01640-20816

WASHER

SN: 103958-UP

6шт.

24

6136-81-5291

CAP

SN: 100006-UP

1шт.

25

6130-82-5270

GASKET

SN: 100006-UP

1шт.

26

6150-71-1910

SEAL,OIL (K2)

SN: 103958-UP

1шт.

27

6136-81-3951

SHAFT

SN: 103958-UP

1шт.

|27

6136-81-3910

SHAFT

SN: 102876-103957

1шт.

28

6136-81-5220

ADAPTER

SN: 100006-UP

1шт.

Выбрано товаров: 80