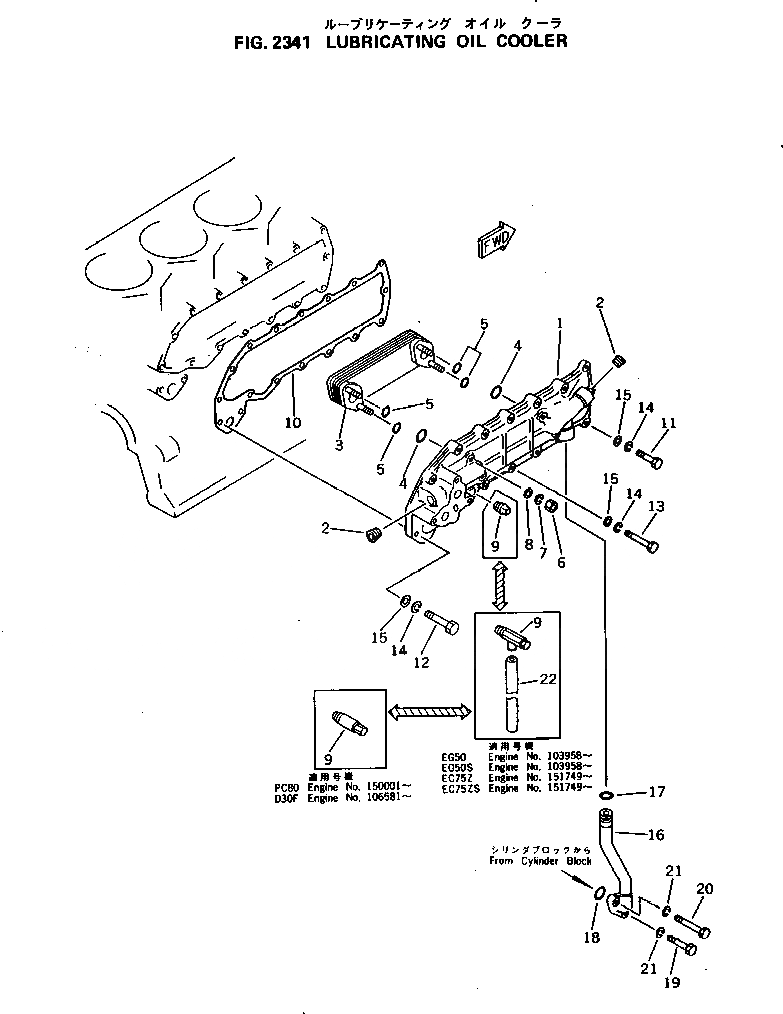
Запчасти Komatsu 4D105-5C СИСТЕМА СМАЗКИ МАСЛООХЛАДИТЕЛЬ СИСТЕМА СМАЗКИ МАСЛ. СИСТЕМА

Схема запчастей Komatsu 4D105-5C - СИСТЕМА СМАЗКИ МАСЛООХЛАДИТЕЛЬ СИСТЕМА СМАЗКИ МАСЛ. СИСТЕМА
FIT
1:1
100%

Артикул

Название

Примечание

Количество

|$0

6135-61-2103

OIL COOLER ASS'Y

SN: 150001-UP

1шт.

|$1

6135-61-2102

OIL COOLER ASS'Y

SN: 103958-149999

1шт.

1

6134-61-2113

COVER

SN: 150001-UP

1шт.

1

6134-61-2112

COVER

SN: 103958-149999

1шт.

2

07043-00415

PLUG

SN: 103958-UP

2шт.

3

600-651-1421

ELEMENT

SN: 103958-UP

1шт.

4

6136-61-2190

O-RING

SN: 103958-UP

2шт.

5

6127-61-2971

O-RING

SN: 103958-UP

4шт.

6

01580-10806

NUT

SN: 103958-UP

4шт.

7

01602-20825

WASHER,SPRING

SN: 103958-UP

4шт.

8

01641-20812

WASHER

SN: 103958-UP

4шт.

9

6140-61-6512

VALVE

SN: 103958-UP

1шт.

10

6134-61-2811

GASKET (K2)

SN: 103958-UP

1шт.

11

01010-30825

BOLT

SN: 103958-UP

5шт.

12

01010-30830

BOLT

SN: 103958-UP

2шт.

13

01010-30835

BOLT

SN: 103958-UP

9шт.

14

01602-00825

WASHER,SPRING

SN: 103958-UP

16шт.

15

01640-00816

WASHER

SN: 103958-UP

16шт.

16

6134-51-6310

TUBE

SN: 103958-UP

1шт.

17

07000-22021

O-RING (K2)

SN: 103958-UP

1шт.

18

07000-63028

O-RING (K2)

SN: 103958-UP

1шт.

19

01010-30830

BOLT

SN: 103958-UP

1шт.

20

01010-30840

BOLT

SN: 103958-UP

1шт.

21

01602-00825

WASHER,SPRING

SN: 103958-UP

2шт.

22

6130-65-6610

HOSE

SN: 103958-UP

1шт.

Выбрано товаров: 25