Запчасти Komatsu 4D105-5C ГЕНЕРАТОР И КРЕПЛЕНИЕ(№888-) ОХЛАЖД-Е И ЭЛЕКТРИКАS

Схема запчастей Komatsu 4D105-5C - ГЕНЕРАТОР И КРЕПЛЕНИЕ(№888-) ОХЛАЖД-Е И ЭЛЕКТРИКАS
FIT
1:1
100%

Артикул

Название

Примечание

Количество

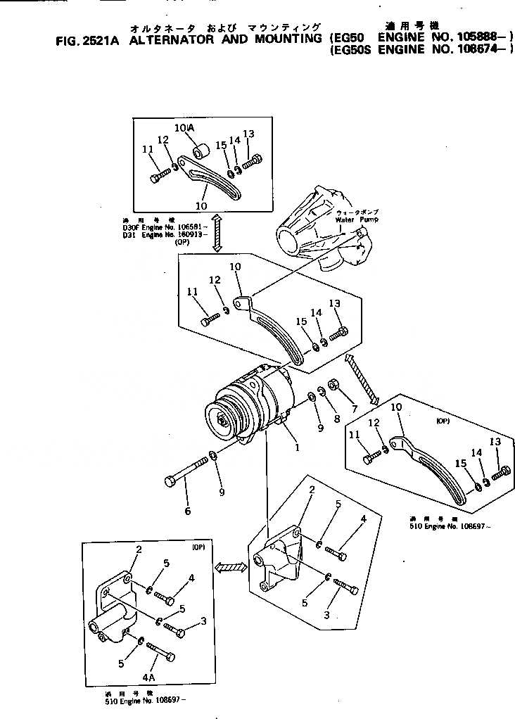
1

600-821-5451

ALTERNATOR A. (25A),(FOR JAPAN)

SN: 103958-UP

1шт.

|1

600-821-3571

ALTERNATOR A. (13A),(EXCEPT JAPAN)

SN: 103958-UP

1шт.

|1

600-821-3180

ALTERNATOR A. (10A),(EXCEPT JAPAN)

SN: 100006-103957

1шт.

2

6134-81-6460

BRACKET

SN: 105888-UP

1шт.

3

01010-31025

BOLT

SN: 105888-UP

1шт.

4

01010-31030

BOLT

SN: 105888-UP

3шт.

5

01602-01030

WASHER,SPRING

SN: 105888-UP

4шт.

6

6112-21-6580

BOLT

SN: 150001-UP

1шт.

|6

01011-31425

BOLT

SN: 103958-149999

1шт.

7

01580-01411

NUT

SN: 103958-UP

1шт.

8

01602-01442

WASHER,SPRING

SN: 103958-UP

1шт.

9

01641-21423

WASHER

SN: 103958-UP

2шт.

10

6134-81-6711

PLATE,ADJUST

SN: 105394-UP

1шт.

|10

6134-81-6770

PLATE,ADJUST (EXCEPT JAPAN)

SN: 103958-UP

1шт.

11

01010-31030

BOLT

SN: 105394-UP

1шт.

12

01602-01030

WASHER,SPRING

SN: 103958-UP

1шт.

13

01050-31230

BOLT

SN: 103958-UP

1шт.

14

01602-01236

WASHER,SPRING

SN: 103958-UP

1шт.

15

01643-31232

WASHER

SN: 103958-UP

1шт.

Выбрано товаров: 19