Запчасти Komatsu 4D105-5C СТАРТЕР (ДЛЯ ЯПОН.) ОХЛАЖД-Е И ЭЛЕКТРИКАS

Схема запчастей Komatsu 4D105-5C - СТАРТЕР (ДЛЯ ЯПОН.) ОХЛАЖД-Е И ЭЛЕКТРИКАS
FIT
1:1
100%

Артикул

Название

Примечание

Количество

|1

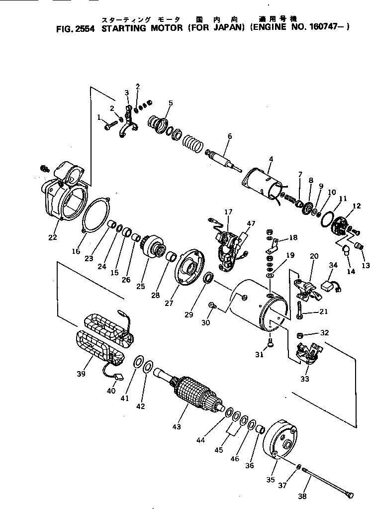
600-813-2151

STARTING MOTOR ASS'Y

SN: 160747-UP

1шт.

1

KD1-21303-0300

PIN

SN: 160747-UP

1шт.

2

KD1-0345-06001

WASHER,SEAL

SN: 160747-UP

2шт.

3

KD1-21320-0810

SHIFT LEVER ASS'Y

SN: 160747-UP

1шт.

4

KD0-47100-2760

MAGNETIC SWITCH A.

SN: 160747-UP

1шт.

5

KD1-47952-0350

CAP

SN: 160747-UP

1шт.

6

KD1-47120-1420

PLUNGER ASS'Y

SN: 160747-UP

1шт.

7

KD1-47943-0690

BUSHING,INSULATE

SN: 160747-UP

1шт.

8

KD1-47151-0440

CONTACTOR,MOVING

SN: 160747-UP

1шт.

9

KD1-47941-0490

WASHER,INSULATE

SN: 160747-UP

1шт.

10

KD1-47921-0910

WASHER

SN: 160747-UP

1шт.

11

KD1-09211-0160

O-RING

SN: 160747-UP

1шт.

12

KD0-47780-0530

TERMINAL ASS'Y

SN: 160747-UP

1шт.

13

KD1-09252-0420

CAP

SN: 160747-UP

1шт.

14

KD1-09252-0380

CAP

SN: 160747-UP

2шт.

15

KD1-21181-0200

STOPPER,PINION

SN: 160747-UP

1шт.

16

KD1-21951-1930

PACKING

SN: 160747-UP

1шт.

17

KD0-25000-6100

SWITCH ASS'Y

SN: 160747-UP

1шт.

18

KD1-21784-1290

BAR,CONNECT

SN: 160747-UP

1шт.

19

KD1-21941-0610

WASHER,INSULATE

SN: 160747-UP

1шт.

20

KD1-21720-0190

BRUSH HOLDER A.

SN: 160747-UP

1шт.

21

KD1-21901-1710

BOLT,TERMINAL

SN: 160747-UP

1шт.

22

KD1-21310-1530

FRONT BRACKET A.

SN: 160747-UP

1шт.

23

KD7-21351-0610

METAL

SN: 160747-UP

1шт.

24

KD1-21914-0170

RING,CLIP

SN: 160747-UP

2шт.

25

KD1-21500-1900

CLUTCH ASS'Y,OVER RUNNING

SN: 160747-UP

1шт.

26

KD7-21351-0370

METAL

SN: 160747-UP

1шт.

27

KD1-21600-1520

CENTER BRACKET A.

SN: 160747-UP

1шт.

28

KD7-21351-1010

METAL

SN: 160747-UP

1шт.

29

KD1-09210-0940

SEAL,OIL

SN: 160747-UP

1шт.

30

KD1-0060-08162

SCREW

SN: 160747-UP

4шт.

31

KD1-0040-06142

SCREW

SN: 160747-UP

1шт.

32

KD0-0280-06022

NUT

SN: 160747-UP

1шт.

33

KD1-21720-0200

BRUSH HOLDER A.

SN: 160747-UP

1шт.

34

KD0-21740-0492

BRUSH ASS'Y

SN: 160747-UP

2шт.

35

KD1-21710-1120

REAR BRACKET A.

SN: 160747-UP

1шт.

36

KD7-21351-0610

METAL

SN: 160747-UP

1шт.

37

KD1-47921-0790

WASHER

SN: 160747-UP

1шт.

38

KD0-21901-1720

BOLT

SN: 160747-UP

2шт.

39

KD1-21230-0940

FIELD COIL ASS'Y

SN: 160747-UP

1шт.

40

KD1-21740-0503

BRUSH

SN: 160747-UP

1шт.

41

KD1-21941-0620

WASHER,INSULATE

SN: 160747-UP

1шт.

42

KD1-21921-1310

WASHER

SN: 160747-UP

1шт.

43

KD1-21100-1240

ARMATURE ASS'Y

SN: 160747-UP

1шт.

44

KD1-21921-1530

WASHER

SN: 160747-UP

1шт.

45

KD1-21921-0800

WASHER

SN: 160747-UP

2шт.

46

KD1-21941-0630

WASHER,INSULATE

SN: 160747-UP

1шт.

47

KD1-09252-0141

CAP

SN: 160747-UP

2шт.

Выбрано товаров: 0