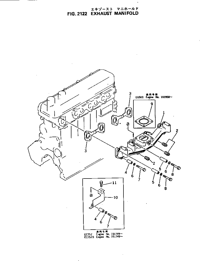
Запчасти Komatsu 4D105-5D ВЫПУСКНОЙ КОЛЛЕКТОР ГОЛОВКА ЦИЛИНДРОВ

Схема запчастей Komatsu 4D105-5D - ВЫПУСКНОЙ КОЛЛЕКТОР ГОЛОВКА ЦИЛИНДРОВ
FIT
1:1
100%

Артикул

Название

Примечание

Количество

1

6134-11-5210

MANIFOLD,EXHAUST

SN: 103958-UP

1шт.

2

07042-00108

PLUG

SN: 103958-UP

3шт.

3

6136-11-5810

GASKET (K1)

SN: 150001-UP

2шт.

3

6135-11-5810

GASKET (K1)

SN: 103958-149999

2шт.

4

6134-12-5120

SPACER

SN: 150001-UP

1шт.

4

6112-21-6960

SPACER

SN: 103958-149999

1шт.

5

6134-12-5120

SPACER

SN: 150001-UP

7шт.

5

6134-11-5120

SPACER

SN: 103958-149999

7шт.

6

01643-31032

WASHER

SN: 103958-UP

8шт.

7

01010-31060

BOLT

SN: 103958-UP

1шт.

8

01010-31060

BOLT

SN: 150001-UP

7шт.

8

01010-31080

BOLT

SN: 103958-149999

7шт.

9

6130-12-5580

GASKET,(FOR EG50S) (K1)

SN: 100006-103957

1шт.

Выбрано товаров: 13