Запчасти Komatsu 4D105-5K ТОПЛ. НАСОС И ТРУБЫ ТОПЛИВН. СИСТЕМА

Схема запчастей Komatsu 4D105-5K - ТОПЛ. НАСОС И ТРУБЫ ТОПЛИВН. СИСТЕМА
FIT
1:1
100%

Артикул

Название

Примечание

Количество

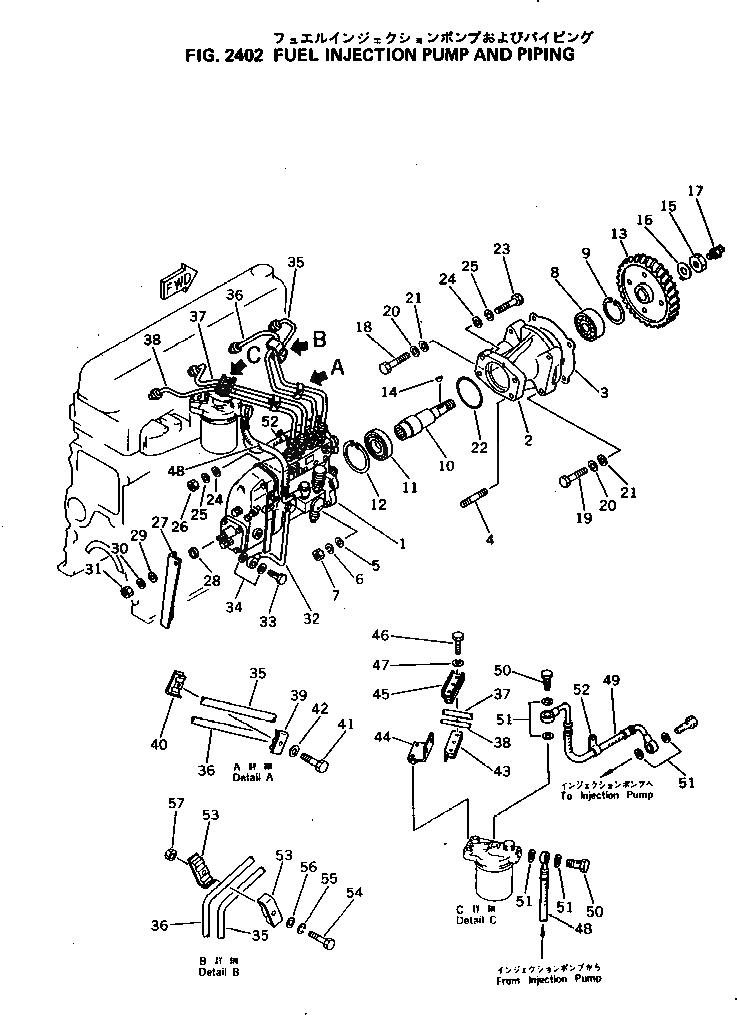
1

6134-72-1210

INJECTION PUMP ASS'Y,(SEE FIG.2451)

SN: 150001-UP

1шт.

2

6134-71-3330

CASE

SN: 150001-UP

1шт.

3

6134-71-3340

GASKET (K2)

SN: 150001-UP

1шт.

4

01160-31035

STUD

SN: 150001-UP

3шт.

5

01640-01016

WASHER

SN: 150001-UP

5шт.

6

01602-01030

WASHER,SPRING

SN: 150001-UP

4шт.

7

01582-01008

NUT

SN: 150001-UP

4шт.

8

6134-71-3320

BEARING,BALL

SN: 150001-UP

1шт.

9

04065-06220

RING,SNAP

SN: 150001-UP

1шт.

10

6134-71-3130

SHAFT

SN: 150001-UP

1шт.

11

06000-06908

BEARING,BALL

SN: 150001-UP

1шт.

12

04065-06825

RING,SNAP

SN: 150001-UP

1шт.

13

6134-71-3120

GEAR

SN: 150001-UP

1шт.

14

04010-00519

KEY

SN: 150001-UP

1шт.

15

01582-02016

NUT

SN: 150001-UP

1шт.

16

01653-22016

WASHER,LOCK (K2)

SN: 150001-UP

1шт.

17

6136-81-3951

SHAFT

SN: 150001-UP

1шт.

18

01050-31030

BOLT

SN: 150001-UP

3шт.

19

01050-31045

BOLT

SN: 150001-UP

1шт.

20

01602-01030

WASHER,SPRING

SN: 150001-UP

4шт.

21

01640-01016

WASHER

SN: 150001-UP

4шт.

22

07000-02065

O-RING (K2)

SN: 150001-UP

1шт.

23

01050-31055

BOLT

SN: 150001-UP

1шт.

24

01640-01016

WASHER

SN: 150001-UP

5шт.

25

01602-01030

WASHER,SPRING

SN: 150001-UP

4шт.

26

01582-01008

NUT

SN: 150001-UP

1шт.

27

6134-71-3540

BRACKET

SN: 150001-UP

1шт.

28

6110-23-6490

SPACER

SN: 150001-UP

1шт.

29

01640-20816

WASHER

SN: .-UP

1шт.

|29

01640-00816

WASHER

SN: 150001-.

1шт.

30

01602-00825

WASHER,SPRING

SN: 150001-UP

1шт.

31

01580-00806

NUT

SN: 150001-UP

1шт.

32

6134-51-6730

PIPE

SN: 150001-UP

1шт.

33

07206-10610

BOLT,JOINT

SN: 150001-UP

1шт.

34

07005-01012

GASKET (K2)

SN: 150001-UP

4шт.

35

6134-71-5150

PIPE,INJECTION¤ NO.1

SN: 150001-UP

1шт.

36

6134-71-5160

PIPE,INJECTION¤ NO.2

SN: 150001-UP

1шт.

37

6134-71-5170

PIPE,INJECTION¤ NO.3

SN: 150001-UP

1шт.

38

6134-71-5180

PIPE,INJECTION¤ NO.4

SN: 150001-UP

1шт.

|39

6134-71-5701

CLIP ASS'Y

SN: 150001-UP

2шт.

39

6134-71-5711

CLIP

SN: 150001-UP

1шт.

40

6134-71-5721

CLIP¤ WITH THREAD

SN: 150001-UP

1шт.

41

01010-50630

BOLT

SN: 150001-UP

1шт.

42

01602-20619

WASHER,SPRING

SN: 150001-UP

1шт.

43

6134-71-5770

BRACKET

SN: 150001-UP

1шт.

44

6134-71-5760

BRACKET

SN: 150001-UP

1шт.

45

6134-71-5780

CLAMP

SN: 150001-UP

1шт.

46

01010-30625

BOLT

SN: .-UP

3шт.

|46

01010-30620

BOLT

SN: 150001-.

3шт.

47

01602-00619

WASHER,SPRING

SN: 150001-UP

3шт.

48

6134-71-5930

HOSE

SN: 150001-UP

1шт.

49

6134-71-5940

HOSE

SN: 150001-UP

1шт.

50

07206-11014

BOLT,JOINT

SN: 150001-UP

2шт.

51

07005-01412

GASKET (K2)

SN: 150001-UP

8шт.

52

6130-72-5611

CLIP

SN: 150001-UP

1шт.

53

6134-71-5711

CLIP

SN: 150001-UP

2шт.

54

01010-30635

BOLT

SN: 150001-UP

1шт.

55

01602-00619

WASHER,SPRING

SN: 150001-UP

1шт.

56

01643-30623

WASHER

SN: 150001-UP

1шт.

57

01580-00605

NUT

SN: 150001-UP

1шт.

Выбрано товаров: 60