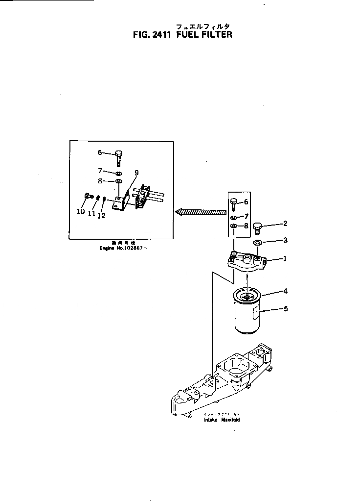
Запчасти Komatsu 4D105-5K ТОПЛИВН. ФИЛЬТР. ТОПЛИВН. СИСТЕМА

Схема запчастей Komatsu 4D105-5K - ТОПЛИВН. ФИЛЬТР. ТОПЛИВН. СИСТЕМА
FIT
1:1
100%

Артикул

Название

Примечание

Количество

|$0

6134-71-6100

FUEL FILTER ASS'Y

SN: 150001-UP

1шт.

1

6136-71-6110

HEAD

SN: 150001-UP

1шт.

2

600-311-6720

PLUG

SN: 150001-UP

1шт.

3

07005-00812

GASKET

SN: 150001-UP

1шт.

4

600-311-6220

CARTRIDGE

SN: 150001-UP

1шт.

6

01010-31050

BOLT

SN: 150001-UP

2шт.

7

01602-01030

WASHER,SPRING

SN: 150001-UP

2шт.

8

01640-01016

WASHER

SN: 150001-.

2шт.

9

6134-71-5760

BRACKET

SN: 150001-UP

1шт.

10

01010-30616

BOLT

SN: 150001-UP

2шт.

11

01602-00619

WASHER,SPRING

SN: 150001-UP

2шт.

12

01643-30623

WASHER

SN: 150001-UP

2шт.

Выбрано товаров: 12