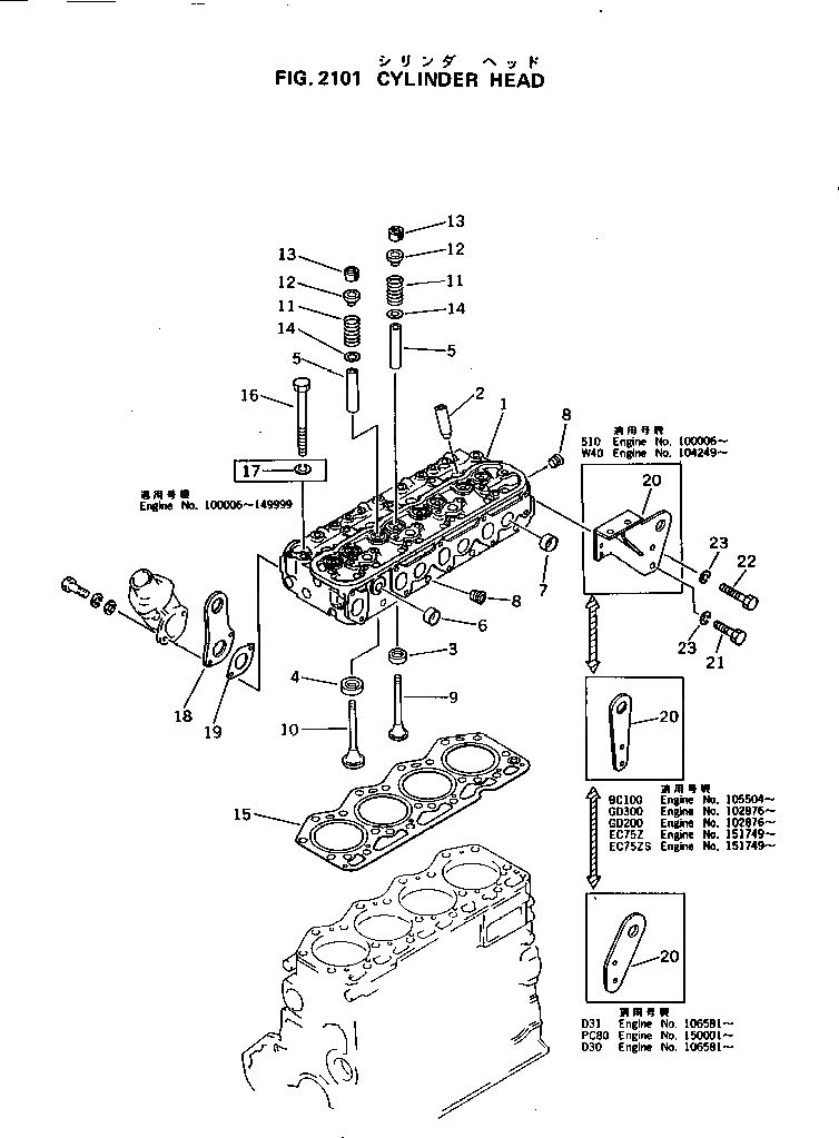
Запчасти Komatsu 4D105-5N ГОЛОВКА ЦИЛИНДРОВ ГОЛОВКА ЦИЛИНДРОВ

Схема запчастей Komatsu 4D105-5N - ГОЛОВКА ЦИЛИНДРОВ ГОЛОВКА ЦИЛИНДРОВ
FIT
1:1
100%

Артикул

Название

Примечание

Количество

|1

6134-12-1011

CYLINDER HEAD ASS'Y,WITH VALVE

SN: .-UP

1шт.

|1

0

CYLINDER HEAD ASS'Y,WITH VALVE

SN: 151749-.

1шт.

|1

6134-12-1101

CYLINDER HEAD ASS'Y,VALVE LESS

SN: .-UP

1шт.

|1

0

CYLINDER HEAD ASS'Y,VALVE LESS

SN: 151749-.

1шт.

1

0

HEAD,CYLINDER

SN: 151749-UP

1шт.

2

6136-11-1130

SLEEVE,HOLDER

SN: 151749-UP

4шт.

3

6136-12-1310

SEAT,INTAKE VALVE (STD)

SN: 151749-UP

4шт.

|3

6136-19-1410

SEAT¤ 0.25MM,INTAKE VALVE (OS)

SN: 151749-UP

4шт.

|3

6136-18-1410

SEAT¤ 0.50MM,INTAKE VALVE (OS)

SN: 151749-UP

4шт.

|3

6136-17-1410

SEAT¤ 0.75MM,INTAKE VALVE (OS)

SN: 151749-UP

4шт.

|3

6136-16-1410

SEAT¤ 1.00MM,INTAKE VALVE (OS)

SN: 151749-UP

4шт.

4

6136-12-1320

SEAT,EXHAUST VALVE (STD)

SN: 151749-UP

4шт.

|4

6136-19-1420

SEAT¤ 0.25MM,EXHAUST VALVE (OS)

SN: 151749-UP

4шт.

|4

6136-18-1420

SEAT¤ 0.50MM,EXHAUST VALVE (OS)

SN: 151749-UP

4шт.

|4

6136-17-1420

SEAT¤ 0.75MM,EXHAUST VALVE (OS)

SN: 151749-UP

4шт.

|4

6136-16-1420

SEAT¤ 1.00MM,EXHAUST VALVE (OS)

SN: 151749-UP

4шт.

5

0

GUIDE,VALVE

SN: 151749-UP

8шт.

6

07046-42816

PLUG

SN: 151749-UP

10шт.

7

07046-44016

PLUG

SN: 151749-UP

3шт.

8

07043-50108

PLUG

SN: 151749-UP

5шт.

9

6136-42-4110

VALVE,INTAKE

SN: 151749-UP

4шт.

10

6136-42-4210

VALVE,EXHAUST

SN: 151749-UP

4шт.

11

6136-42-4410

SPRING,VALVE

SN: 151749-UP

8шт.

12

6136-42-4510

GUIDE,SPRING

SN: 151749-UP

8шт.

13

6136-42-4520

COTTER

SN: 151749-UP

16шт.

14

6136-41-4530

SEAT,SPRING

SN: 151749-UP

8шт.

15

6134-11-1811

GASKET (K1)

SN: 151749-UP

1шт.

16

6136-12-1610

BOLT

SN: 151749-UP

18шт.

18

6136-11-1910

HANGER,FRONT

SN: 151749-UP

1шт.

19

6136-11-1821

GASKET (K1)

SN: 151749-UP

1шт.

20

6136-11-1920

HANGER,REAR

SN: 151749-UP

1шт.

21

01010-31025

BOLT

SN: 151749-UP

1шт.

22

01010-31025

BOLT

SN: 151749-UP

1шт.

23

01602-01030

WASHER,SPRING

SN: 151749-UP

2шт.

Выбрано товаров: 34