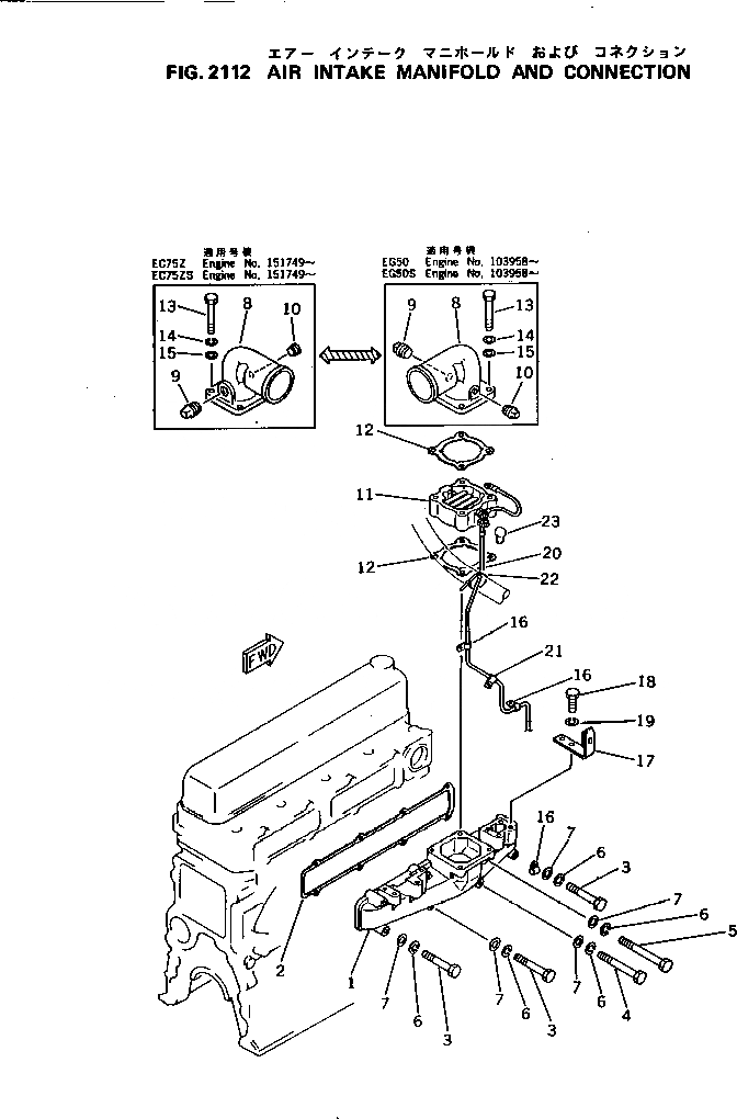
Запчасти Komatsu 4D105-5N ТРУБОПРОВОД ВПУСКА ВОЗДУХА И СОЕДИН-Е ГОЛОВКА ЦИЛИНДРОВ

Схема запчастей Komatsu 4D105-5N - ТРУБОПРОВОД ВПУСКА ВОЗДУХА И СОЕДИН-Е ГОЛОВКА ЦИЛИНДРОВ
FIT
1:1
100%

Артикул

Название

Примечание

Количество

1

6134-11-4111

MANIFOLD,INTAKE

SN: 151749-UP

1шт.

2

6134-11-4811

GASKET (K1)

SN: 151749-UP

1шт.

3

01010-30865

BOLT

SN: 151749-UP

6шт.

4

01010-30880

BOLT

SN: 151749-UP

1шт.

5

6132-11-6460

BOLT

SN: 151749-UP

1шт.

6

01602-00825

WASHER,SPRING

SN: 151749-UP

8шт.

7

01640-00816

WASHER

SN: 151749-UP

8шт.

8

6136-11-4250

CONNECTOR,AIR

SN: 151749-UP

1шт.

9

07042-00415

PLUG

SN: 151749-UP

1шт.

10

02720-10204

PLUG

SN: 151749-UP

1шт.

11

600-815-2341

HEATER,RIBBON

SN: 151749-UP

1шт.

12

6136-11-4820

GASKET (K1)

SN: 151749-UP

2шт.

13

01010-30870

BOLT

SN: 151749-UP

4шт.

14

01602-00825

WASHER,SPRING

SN: 151749-UP

4шт.

15

01640-00816

WASHER

SN: 151749-UP

4шт.

16

08036-10810

CLIP

SN: 151749-UP

3шт.

17

6134-12-8840

BRACKET

SN: 151749-UP

1шт.

18

01010-31020

BOLT

SN: 151749-UP

2шт.

19

01602-01030

WASHER,SPRING

SN: 151749-UP

2шт.

20

6134-81-4220

WIRE

SN: 151749-UP

1шт.

21

08036-10814

CLIP

SN: 151749-UP

1шт.

22

08034-00519

BAND

SN: 151749-UP

1шт.

23

08038-00519

CAP

SN: 151749-UP

1шт.

Выбрано товаров: 23