Запчасти Komatsu 4D120-10S - -

Схема запчастей Komatsu 4D120-10S - - -
FIT
1:1
100%

Артикул

Название

Примечание

Количество

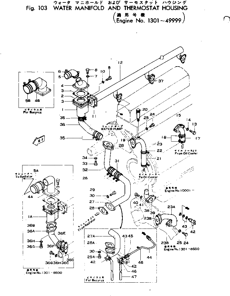
1

6110-11-6414

SN: 20001-49999

1шт.

1A

6110-11-6413

SN: 10001-19584

1шт.

2

6003601-1-10

SN: 20001-49999

1шт.

|2

0

SN: 20001-49999

1шт.

|2

0

SN: 1301-19584

1шт.

3

6110-11-6450

SN: 1301-49999

2шт.

4

6110-11-6426

SN: 10001-49999

1шт.

5

6110-11-6610

SN: 10001-49999

1шт.

5A

6110-61-6130

SN: 1301-8500

1шт.

6

07280-06429

SN: 20001-49999

2шт.

7

01602-10825

SN: 1301-49999

4шт.

8

01000-40825

SN: 1301-19584

4шт.

|8

01000-40830

SN: 20001-49999

4шт.

9

01000-40825

SN: 1301-49999

4шт.

10

01602-10825

SN: 1301-49999

4шт.

11

6110-11-6441

SN: 1301-49999

1шт.

12

6110-11-6115

SN: 1301-49999

1шт.

13

01000-41025

SN: 10001-15735

2шт.

|13

01040-41025

SN: 15736-49999

2шт.

14

01602-11030

SN: 10001-49999

2шт.

15

6110-61-6831

SN: 10001-49999

1шт.

16

6110-61-6310

SN: 10001-49999

1шт.

17

6110-61-6321

SN: 10001-49999

1шт.

18

07280-05729

SN: 10001-49999

2шт.

19

6110-61-6820

SN: 10001-49999

1шт.

20

6003500-2-10

SN: 10001-49999

1шт.

21

6110-61-6221

SN: 10001-49999

1шт.

22

07280-05729

SN: 10001-49999

2шт.

23

6110-61-6213

SN: 10001-49999

1шт.

23B

6110-61-6831

SN: 2961-8500

2шт.

24

01000-41025

SN: 1301-8500

4шт.

|24

01000-41025

SN: 10001-15375

2шт.

|24

01040-41025

SN: 15376-49999

2шт.

25

01602-11030

SN: 1301-8500

4шт.

|25

01602-11030

SN: 10001-49999

2шт.

26

07280-06429

SN: 20001-49999

4шт.

27

6110-61-6117

SN: 18539-49999

1шт.

28

6110-61-6811

SN: 1301-49999

2шт.

29

01000-41025

SN: 1301-15735

2шт.

|29

01040-41025

SN: 15736-49999

2шт.

30

01602-11030

SN: 1301-49999

2шт.

31

6110-61-6132

SN: 1301-49999

1шт.

|31

0

SN: (20001-21461)

1шт.

|31

0

SN: (1301-19584)

1шт.

32

6110-61-6124

SN: 18539-49999

1шт.

33

01000-41025

SN: 1301-19584

2шт.

|33

01040-41025

SN: 20001-49999

2шт.

34

01602-11030

SN: 1301-49999

2шт.

35

6110-61-6610

SN: 10001-49999

2шт.

36

6110-61-6415

SN: 10001-49999

1шт.

|36

0

SN: (10001-21461)

1шт.

36F

6110-61-6610

SN: 1301-8500

2шт.

36G

01000-40825

SN: 1301-8500

4шт.

36H

01602-10825

SN: 1301-8500

4шт.

37

6110-11-6810

SN: 1301-49999

3шт.

40

01000-40820

SN: 1301-19584

1шт.

41

01602-10825

SN: 1301-19584

1шт.

42

6003501-0-01

SN: 1301-8500

1шт.

43

07003-02026

SN: 1301-8500

2шт.

Выбрано товаров: 59