Запчасти Komatsu 4D120-11B ВЫПУСКНОЙ КОЛЛЕКТОР И ГЛУШИТЕЛЬ ГОЛОВКА ЦИЛИНДРОВ

Схема запчастей Komatsu 4D120-11B - ВЫПУСКНОЙ КОЛЛЕКТОР И ГЛУШИТЕЛЬ ГОЛОВКА ЦИЛИНДРОВ
FIT
1:1
100%

Артикул

Название

Примечание

Количество

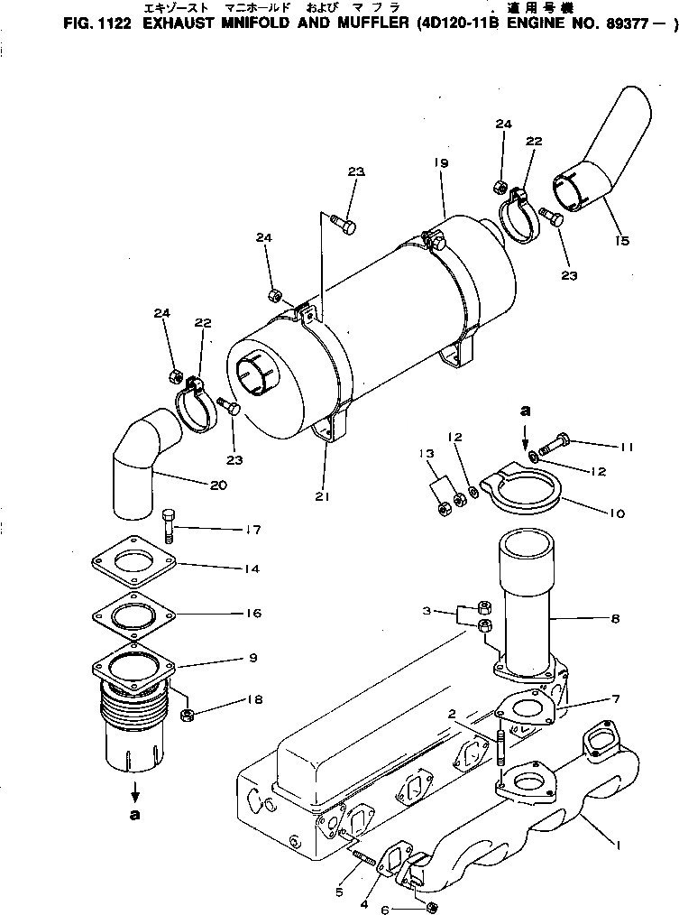
|1

6110-10-5201

MANIFOLD ASS'Y

SN: 89377-UP

1шт.

1

0

MANIFOLD

SN: 89377-UP

1шт.

2

01140-31030

STUD

SN: 89377-UP

3шт.

3

01582-21008

NUT

SN: 89377-UP

6шт.

4

6110-11-5811

GASKET (K1)

SN: 89377-UP

4шт.

5

01140-71035

STUD

SN: 89377-UP

8шт.

6

6110-11-1190

NUT

SN: 89377-UP

8шт.

7

6110-11-5821

GASKET (K1)

SN: 89377-UP

1шт.

8

6993-11-5111

PIPE

SN: 91353-UP

1шт.

|8

6993-11-5110

PIPE

SN: 89377-91352

1шт.

9

6993-11-5751

BELLOWS

SN: 91353-UP

1шт.

|9

6993-11-5750

BELLOWS

SN: 89377-91352

1шт.

10

6620-11-5742

CLAMP

SN: 91353-UP

1шт.

|10

6112-11-5341

CLAMP

SN: 89377-91352

1шт.

11

01051-31420

BOLT

SN: 89377-UP

1шт.

12

01641-21423

WASHER

SN: 89377-UP

2шт.

13

01582-01411

NUT

SN: 89377-UP

2шт.

14

6993-11-5770

FRANGE

SN: 89377-UP

1шт.

15

6993-11-5760

PIPE

SN: 89377-UP

1шт.

16

6993-11-5780

GASKET (K1)

SN: 89377-UP

1шт.

17

01050-31045

BOLT

SN: 89377-UP

4шт.

18

6112-13-1190

NUT

SN: 89377-UP

4шт.

19

6993-11-5710

MUFFLER

SN: 89377-UP

1шт.

20

6992-11-5760

PIPE (WELDED)

SN: 89377-UP

1шт.

21

6993-11-5730

CLAMP

SN: 89377-UP

2шт.

22

6693-11-5740

CLAMP

SN: 89377-UP

2шт.

23

01050-31040

BOLT

SN: 89377-UP

4шт.

24

01582-01008

NUT

SN: 89377-UP

4шт.

Выбрано товаров: 28