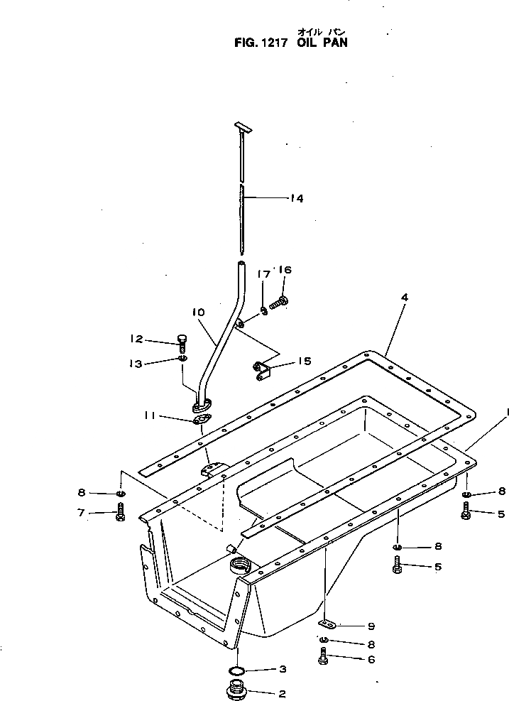
Запчасти Komatsu 4D120-11B МАСЛЯНЫЙ ПОДДОН БЛОК ЦИЛИНДРОВ

Схема запчастей Komatsu 4D120-11B - МАСЛЯНЫЙ ПОДДОН БЛОК ЦИЛИНДРОВ
FIT
1:1
100%

Артикул

Название

Примечание

Количество

1

6112-22-5110

PAN

SN: 89377-UP

1шт.

2

07040-13618

PLUG

SN: 91353-UP

1шт.

2

07044-13620

PLUG

SN: 89377-91352

1шт.

3

6114-21-5190

O-RING (K2)

SN: 89377-UP

1шт.

4

6110-23-5811

GASKET (K2)

SN: 89377-UP

1шт.

5

01010-30825

BOLT

SN: 89377-UP

22шт.

6

01010-30830

BOLT

SN: 89377-UP

1шт.

7

01010-30835

BOLT

SN: 89377-UP

1шт.

8

01602-00825

WASHER

SN: 89377-UP

24шт.

9

6100-71-7131

CLIP

SN: 89377-UP

1шт.

10

6110-23-5122

GUIDE

SN: 89377-UP

1шт.

11

6110-23-5150

GASKET (K2)

SN: 89377-UP

1шт.

12

01010-30820

BOLT

SN: 89377-UP

2шт.

13

01602-00825

WASHER

SN: 89377-UP

2шт.

14

6110-23-5312

GAUGE

SN: 89377-UP

1шт.

15

6110-23-5331

BRACKET

SN: 89377-UP

1шт.

16

01010-30818

BOLT

SN: 89377-UP

1шт.

17

01602-00825

WASHER

SN: 89377-UP

1шт.

Выбрано товаров: 18