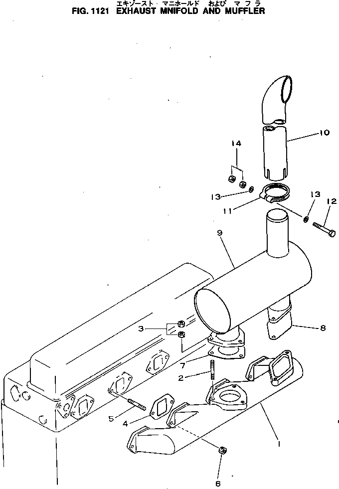
Запчасти Komatsu 4D120-11E ВЫПУСКНОЙ КОЛЛЕКТОР И ГЛУШИТЕЛЬ ГОЛОВКА ЦИЛИНДРОВ

Схема запчастей Komatsu 4D120-11E - ВЫПУСКНОЙ КОЛЛЕКТОР И ГЛУШИТЕЛЬ ГОЛОВКА ЦИЛИНДРОВ
1
2
FIT
1:1
100%

Артикул

Название

Примечание

Количество

|1

6110-10-5201

MANIFOLD ASS'Y

SN: 50102-UP

1шт.

|1

6110-10-5200

MANIFOLD ASS'Y

SN: 50099-50101

1шт.

1

0

MANIFOLD

SN: 50102-UP

1шт.

|1

0

MANIFOLD

SN: 50099-50101

1шт.

2

01140-31030

STUD

SN: 50099-UP

5шт.

3

01582-21008

NUT

SN: 50099-UP

10шт.

4

6110-11-5811

GASKET (K1)

SN: 50099-UP

4шт.

5

01140-71035

STUD

SN: 87439-UP

8шт.

|5

01140-31035

STUD

SN: 50102-87438

8шт.

|5

01140-31030

STUD

SN: 50099-50101

8шт.

6

6110-11-1190

NUT

SN: 50099-UP

8шт.

Выбрано товаров: 11