Запчасти Komatsu 4D120-11S ТОПЛИВН. ФИЛЬТР. ТОПЛИВН. СИСТЕМА

Схема запчастей Komatsu 4D120-11S - ТОПЛИВН. ФИЛЬТР. ТОПЛИВН. СИСТЕМА
FIT
1:1
100%

Артикул

Название

Примечание

Количество

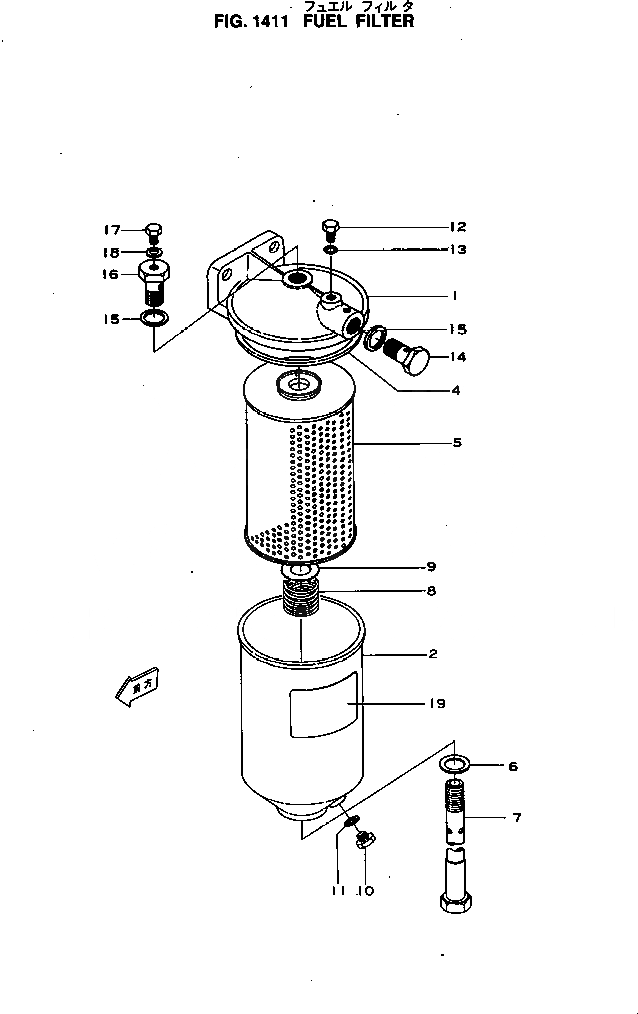
|1

6110-73-6103

FUEL FILTER ASS'Y

SN: 78742-UP

1шт.

|1

6110-73-6102

FUEL FILTER ASS'Y

SN: 75830-78741

1шт.

|1

6110-73-6101

FUEL FILTER ASS'Y

SN: 69225-75829

1шт.

|1

6110-73-6100

FUEL FILTER ASS'Y

SN: 50006-69224

1шт.

1

6110-73-6111

COVER

SN: 77578-UP

1шт.

|1

6110-73-6110

COVER

SN: 50006-77577

1шт.

2

6110-73-6120

CASE

SN: 50006-UP

1шт.

|4

6110-70-6202

ELEMENT ASS'Y

SN: 77578-UP

1шт.

|4

6110-70-6201

ELEMENT ASS'Y

SN: 50006-77577

1шт.

4

6110-73-6810

GASKET

SN: 50006-UP

1шт.

5

6110-73-6130

ELEMENT

SN: 50006-UP

1шт.

6

07005-01612

GASKET

SN: 77578-UP

1шт.

|6

6110-73-6820

GASKET

SN: 50006-77577

1шт.

7

6110-73-6151

BOLT

SN: 69225-UP

1шт.

|7

6110-73-6150

BOLT

SN: 50006-69224

1шт.

8

6110-73-6210

SPRING

SN: 50006-UP

1шт.

9

6110-73-6220

SEAT

SN: 50006-UP

1шт.

10

07040-10807

PLUG

SN: 50006-UP

1шт.

11

07005-00812

GASKET

SN: 78742-UP

1шт.

|11

07003-10813

GASKET

SN: 50006-78741

1шт.

12

6110-73-6231

PLUG

SN: 77578-UP

1шт.

|12

6110-73-6230

PLUG

SN: 50006-77577

1шт.

13

07005-00812

GASKET

SN: 78742-UP

1шт.

|13

07003-10813

GASKET

SN: 77578-78741

1шт.

|13

6110-73-6830

GASKET

SN: 50006-77577

1шт.

14

07206-11014

BOLT

SN: 69225-UP

1шт.

|14

07206-01014

BOLT

SN: 50006-69224

1шт.

15

07005-01412

GASKET

SN: 78742-UP

4шт.

|15

07003-11419

GASKET

SN: 50006-78741

4шт.

|16

6110-70-6240

JOINT BOLT ASS'Y

SN: 77578-UP

1шт.

16

6110-73-6242

BOLT

SN: 77578-UP

1шт.

|16

6110-73-6241

BOLT

SN: 69225-77577

1шт.

|16

6110-73-6240

BOLT

SN: 50006-69224

1шт.

17

6110-73-6231

PLUG

SN: 77578-UP

1шт.

|17

6110-73-6230

PLUG

SN: 50006-77577

1шт.

18

07005-00812

GASKET

SN: 78742-UP

1шт.

|18

07003-10813

GASKET

SN: 77578-78741

1шт.

|18

6110-73-6830

GASKET

SN: 50006-77577

1шт.

19

09643-00100

PLATE¤ CAUTION

SN: 61451-UP

1шт.

|19

6110-81-2154

PLATE¤ CAUTION

SN: 50006-61450

1шт.

Выбрано товаров: 40