Запчасти Komatsu 4D130-1B ГОЛОВКА ЦИЛИНДРОВ COVER ГОЛОВКА ЦИЛИНДРОВ

Схема запчастей Komatsu 4D130-1B - ГОЛОВКА ЦИЛИНДРОВ COVER ГОЛОВКА ЦИЛИНДРОВ
FIT
1:1
100%

Артикул

Название

Примечание

Количество

|1

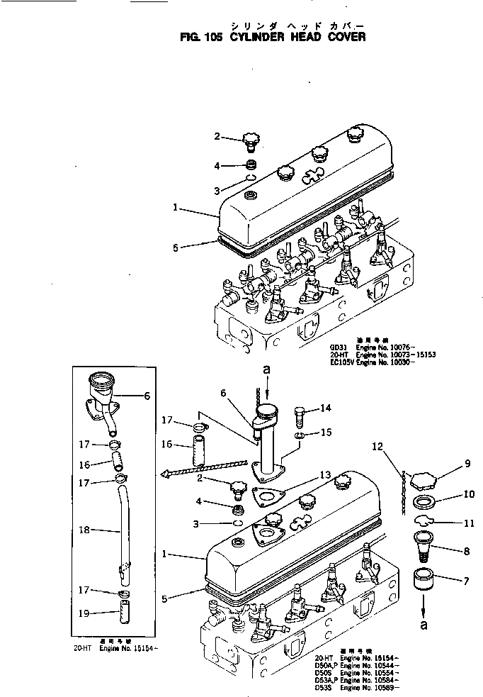
6114-11-8200

HEAD COVER ASS'Y

SN: 15154-UP

1шт.

|1

6114-15-8100

HEAD COVER ASS'Y

SN: 10073-15153

1шт.

1

6114-11-8210

COVER

SN: 15154-UP

1шт.

|1

6114-15-8110

COVER

SN: 10073-15153

1шт.

2

6110-11-8122

NUT

SN: 10073-UP

4шт.

3

6110-11-8130

RING

SN: 10073-UP

4шт.

4

6110-11-8820

WASHER (K1)

SN: 10073-UP

4шт.

5

6110-11-8811

GASKET (K1)

SN: 10073-UP

1шт.

|6

6114-11-8700

OIL FILLER ASS'Y

SN: 15154-UP

1шт.

6

6114-11-8710

FILLER

SN: 15154-UP

1шт.

7

6110-23-7120

ELEMENT

SN: 15154-UP

1шт.

8

6110-23-7190

STRAINER

SN: 15154-UP

1шт.

9

6110-23-7140

CAP

SN: 15154-UP

1шт.

10

6110-23-7180

GASKET

SN: 15154-UP

1шт.

11

6110-23-7130

RING

SN: 15154-UP

1шт.

12

6114-21-7170

CHAIN

SN: 15154-UP

1шт.

13

6127-11-8850

GASKET (K1)

SN: 15154-UP

1шт.

14

01010-30825

BOLT

SN: 15154-UP

3шт.

15

01602-00825

WASHER

SN: 15154-UP

3шт.

16

6112-63-6421

HOSE

SN: 15154-UP

1шт.

17

07280-03826

CLAMP

SN: 15154-UP

3шт.

18

6114-11-8720

PIPE

SN: 15154-UP

1шт.

19

6114-11-8730

HOSE

SN: 15154-UP

1шт.

Выбрано товаров: 0