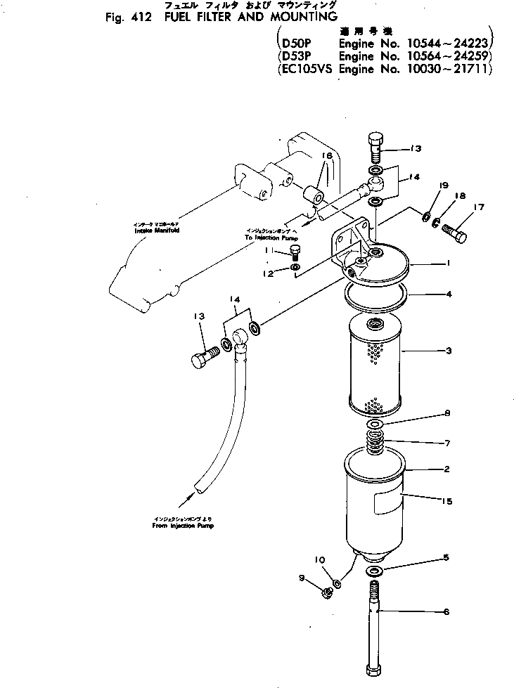
Запчасти Komatsu 4D130-1E ТОПЛИВН. ФИЛЬТР. И КРЕПЛЕНИЕ(№8-9) ТОПЛИВН. СИСТЕМА

Схема запчастей Komatsu 4D130-1E - ТОПЛИВН. ФИЛЬТР. И КРЕПЛЕНИЕ(№8-9) ТОПЛИВН. СИСТЕМА
FIT
1:1
100%

Артикул

Название

Примечание

Количество

1

0

FUEL FILTER ASS'Y

SN: 10584-24259

1шт.

|$$2

(6114-71-6200{07206-11014(2)¤}

-1шт.

|$$3

07005-01412(4))

-1шт.

1

6114-71-6110

COVER

SN: 10584-24259

1шт.

2

6110-73-6120

CASE

SN: 10584-24259

1шт.

|3

6110-70-6202

ELEMENT ASS'Y

SN: 10584-24259

1шт.

3

0

ELEMENT

SN: 10584-24259

1шт.

4

6110-73-6810

GASKET

SN: 10584-24259

1шт.

5

07005-01612

GASKET

SN: 10584-24259

1шт.

6

6110-73-6151

BOLT

SN: 10584-24259

1шт.

7

6110-73-6210

SPRING

SN: 10584-24259

1шт.

8

6110-73-6220

SEAT

SN: 10584-24259

1шт.

9

07040-10807

PLUG

SN: 10584-24259

1шт.

10

07005-00812

GASKET

SN: 10584-24259

1шт.

11

6110-73-6231

PLUG

SN: 10584-@

1шт.

12

07005-00812

GASKET

SN: 10584-@

1шт.

13

07206-11014

BOLT

SN: 10584-@

2шт.

14

07005-01412

GASKET (K2)

SN: 10584-@

4шт.

15

09643-00100

PLATE¤ CAUTION,(JAPANESE-ENGLISH)

SN: 10584-24259

1шт.

|15

09643-30100

PLATE¤ CAUTION,(ENGLISH)

SN: 10584-@

1шт.

16

6112-21-6960

SPACER

SN: 10584-@

2шт.

17

01010-31055

BOLT

SN: 10584-@

2шт.

18

01602-01030

WASHER

SN: 10584-@

2шт.

19

01640-21016

WASHER

SN: 10584-@

2шт.

Выбрано товаров: 0