Запчасти Komatsu 4D130-1G-V ГОЛОВКА ЦИЛИНДРОВ COVER ГОЛОВКА ЦИЛИНДРОВ

Схема запчастей Komatsu 4D130-1G-V - ГОЛОВКА ЦИЛИНДРОВ COVER ГОЛОВКА ЦИЛИНДРОВ
FIT
1:1
100%

Артикул

Название

Примечание

Количество

|$0

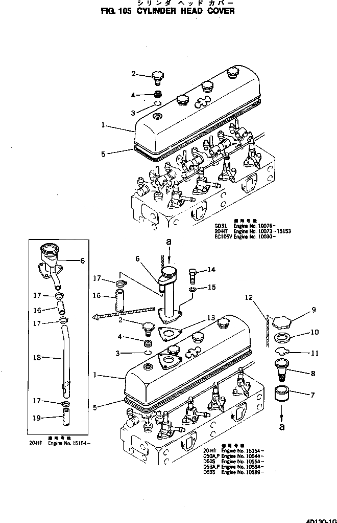
6114-15-8100

HEAD COVER ASS'Y

SN: 10030-UP

1шт.

1

6114-15-8110

COVER

SN: 10030-UP

1шт.

2

6110-11-8122

NUT

SN: 10030-UP

4шт.

3

6110-11-8130

RING

SN: 10030-UP

4шт.

4

6110-11-8820

WASHER (K1)

SN: 10030-UP

4шт.

5

6110-11-8811

GASKET (K1)

SN: 10030-UP

1шт.

Выбрано товаров: 6