Запчасти Komatsu 4D130-1G-V МАСЛЯНЫЙ ПОДДОН БЛОК ЦИЛИНДРОВ

Схема запчастей Komatsu 4D130-1G-V - МАСЛЯНЫЙ ПОДДОН БЛОК ЦИЛИНДРОВ
FIT
1:1
100%

Артикул

Название

Примечание

Количество

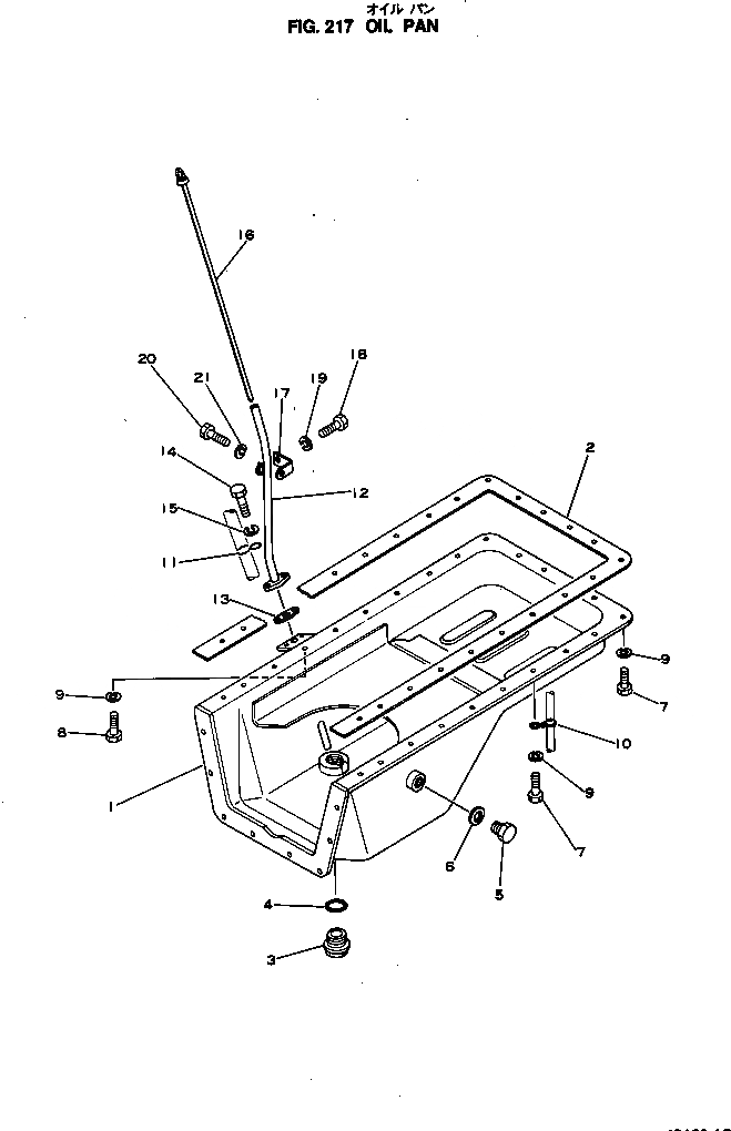
1

6112-22-5110

PAN

SN: 10030-UP

1шт.

2

6110-23-5811

GASKET (K2)

SN: 10030-UP

1шт.

3

07044-13620

PLUG

SN: 10030-UP

1шт.

4

6114-21-5190

O-RING (K2)

SN: 10030-UP

1шт.

5

07040-11209

PLUG

SN: 10030-UP

1шт.

6

07005-01212

GASKET (K2)

SN: 10030-UP

1шт.

7

01010-30822

BOLT

SN: 10030-UP

23шт.

8

01010-30835

BOLT

SN: 10030-UP

1шт.

9

01602-00825

WASHER

SN: 10030-UP

24шт.

10

6110-23-5170

CLIP

SN: 10030-UP

1шт.

11

6110-25-7220

CLIP

SN: 10030-UP

1шт.

12

6110-23-5122

GUIDE

SN: 10030-UP

1шт.

13

6110-23-5150

GASKET (K2)

SN: 10030-UP

1шт.

14

01010-30830

BOLT

SN: 10030-UP

2шт.

15

01602-00825

WASHER

SN: 10030-UP

2шт.

16

6110-23-5312

GAUGE

SN: 10030-UP

1шт.

17

6110-23-5331

BRACKET

SN: 10030-UP

1шт.

18

01010-30818

BOLT

SN: 10030-UP

1шт.

19

01602-00825

WASHER

SN: 10030-UP

1шт.

20

01010-30818

BOLT,(SEE FIG.202)

SN: 10030-UP

1шт.

21

01602-00825

WASHER,(SEE FIG.202)

SN: 10030-UP

1шт.

Выбрано товаров: 21