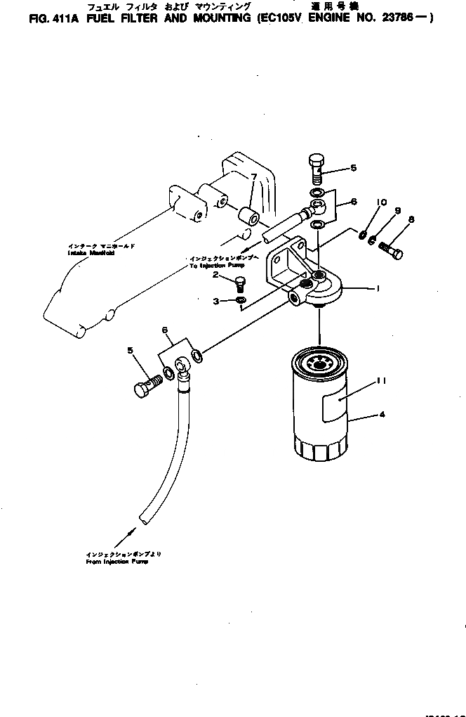
Запчасти Komatsu 4D130-1G-V ТОПЛИВН. ФИЛЬТР. И КРЕПЛЕНИЕ(№78-) ТОПЛИВН. СИСТЕМА

Схема запчастей Komatsu 4D130-1G-V - ТОПЛИВН. ФИЛЬТР. И КРЕПЛЕНИЕ(№78-) ТОПЛИВН. СИСТЕМА
FIT
1:1
100%

Артикул

Название

Примечание

Количество

|1

6114-71-6200

FUEL FILTER ASS'Y

SN: 23786-UP

1шт.

1

6114-71-6210

HEAD

SN: 23786-UP

1шт.

2

6110-73-6231

PLUG

SN: 10030-UP

1шт.

3

07005-00812

GASKET

SN: 10030-UP

1шт.

4

600-311-8291

CARTRIDGE

SN: 23786-UP

1шт.

5

07206-11014

BOLT

SN: 10030-UP

2шт.

6

07005-01412

GASKET (K2)

SN: 10030-UP

4шт.

7

6112-21-6960

SPACER

SN: 10030-UP

2шт.

8

01010-31055

BOLT

SN: 10030-UP

2шт.

9

01602-01030

WASHER

SN: 10030-UP

2шт.

10

01640-21016

WASHER

SN: 10030-UP

2шт.

11

09643-30100

PLATE¤ CAUTION,(ENGLISH)

SN: 10030-UP

1шт.

Выбрано товаров: 12