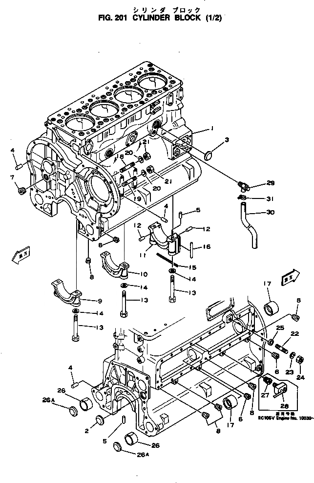
Запчасти Komatsu 4D130-1G-V БЛОК ЦИЛИНДРОВ (/) БЛОК ЦИЛИНДРОВ

Схема запчастей Komatsu 4D130-1G-V - БЛОК ЦИЛИНДРОВ (/) БЛОК ЦИЛИНДРОВ
FIT
1:1
100%

Артикул

Название

Примечание

Количество

|1

6115-20-1002

CYLINDER BLOCK A.

SN: 10841-UP

1шт.

|1

0

CYLINDER BLOCK A.

SN: 10490-10840

1шт.

|1

0

CYLINDER BLOCK A.

SN: 10260-10489

1шт.

|1

0

CYLINDER BLOCK A.

SN: 10030-10259

1шт.

|1

0

CYLINDER BLOCK A.

SN: (10030-10066)

1шт.

|1

6114-21-1002

CYLINDER BLOCK A.

SN: 10490-UP

1шт.

|1

0

CYLINDER BLOCK A.

SN: 10260-10489

1шт.

|1

0

CYLINDER BLOCK A.

SN: 10030-10259

1шт.

1

0

BLOCK

SN: 10490-UP

1шт.

|1

0

BLOCK

SN: 10260-10489

1шт.

|1

0

BLOCK

SN: 10030-10259

1шт.

2

07046-13520

PLUG

SN: 10030-UP

1шт.

3

07046-14520

PLUG

SN: 10030-UP

2шт.

4

04020-01228

PIN

SN: 10030-UP

6шт.

5

04020-00616

PIN

SN: 10030-UP

4шт.

6

07042-00211

PLUG

SN: 10030-UP

6шт.

7

07043-01019

PLUG

SN: 10030-UP

1шт.

8

6110-23-1170

PLUG

SN: 10030-UP

6шт.

9

6110-23-1211

CAP

SN: 10260-UP

1шт.

|9

6110-23-1210

CAP

SN: 10030-10259

1шт.

10

6110-23-1231

CAP

SN: 10260-UP

3шт.

|10

6110-23-1230

CAP

SN: 10030-10259

3шт.

|11

6114-20-1400

MAIN METAL CAP A.

SN: 10030-UP

1шт.

11

0

CAP

SN: 10030-UP

1шт.

12

04020-00514

PIN

SN: 10030-UP

4шт.

13

6114-21-1710

BOLT

SN: 10030-UP

10шт.

14

6114-21-1720

WASHER

SN: 10030-UP

10шт.

15

6110-21-1810

GASKET (K2)

SN: 10030-UP

1шт.

16

6110-21-1821

GASKET (K2)

SN: 10030-UP

12шт.

17

6110-23-1410

BUSHING

SN: 10030-UP

3шт.

18

01100-30822

STUD

SN: 10030-UP

5шт.

19

01100-30830

STUD

SN: 10030-UP

1шт.

20

01602-00825

WASHER

SN: 10030-UP

6шт.

21

01580-00806

NUT

SN: 10030-UP

6шт.

22

01100-41260

STUD

SN: 10030-UP

6шт.

23

01602-01236

WASHER

SN: 10030-UP

6шт.

24

01582-01210

NUT

SN: 10030-UP

6шт.

25

6110-21-1130

SPACER

SN: 10030-UP

4шт.

26

6110-23-1442

BUSHING

SN: 10030-UP

10шт.

26A

6110-23-4920

PLUG

SN: 10490-UP

2шт.

27

07326-00201

ADAPTER

SN: 10030-UP

1шт.

28

600-815-1940

SWITCH

SN: .-UP

1шт.

|28

0

SWITCH

SN: 10030-.

1шт.

29

6140-61-6512

VALVE

SN: 10030-UP

1шт.

30

6130-65-6610

HOSE

SN: 10030-UP

1шт.

31

07280-01920

CLAMP

SN: 10030-UP

1шт.

Выбрано товаров: 46