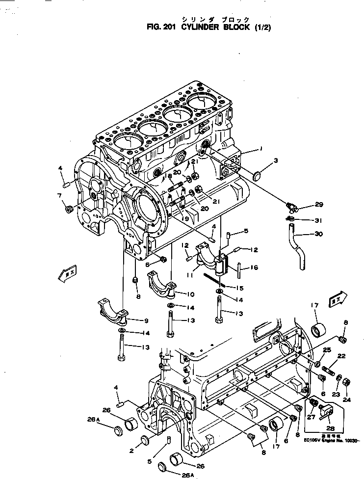
Запчасти Komatsu 4D130-1H БЛОК ЦИЛИНДРОВ (/) БЛОК ЦИЛИНДРОВ

Схема запчастей Komatsu 4D130-1H - БЛОК ЦИЛИНДРОВ (/) БЛОК ЦИЛИНДРОВ
FIT
1:1
100%

Артикул

Название

Примечание

Количество

|$0

6115-20-1002

CYLINDER BLOCK A.

SN: 01001-UP

1шт.

1

6115-21-2211

LINER

SN: .-UP

4шт.

2

6610-21-2240

SEAL (K2)

SN: 01001-.

4шт.

3

6610-21-2221

O-RING (K2)

SN: 01001-UP

4шт.

4

6610-21-2250

O-RING (K2)

SN: 01001-UP

4шт.

5

6110-23-2311

SHAFT

SN: 01001-UP

3шт.

6

6110-23-2320

PLATE

SN: 01001-UP

3шт.

7

6110-23-2340

PLATE

SN: 01001-UP

3шт.

8

6114-21-2330

BOLT

SN: 01001-UP

6шт.

9

01643-31232

WASHER

SN: 01001-UP

6шт.

|$10

6112-33-6300

GEAR ASS'Y,CENTER

SN: 01001-UP

1шт.

|$11

6112-33-6400

GEAR ASS'Y,L.H.

SN: .-UP

1шт.

|$12

6112-33-6500

GEAR ASS'Y,R.H.

SN: 01001-.

1шт.

10

0

GEAR,CENTER

SN: 01001-UP

1шт.

11

0

GEAR,L.H.

SN: 01001-UP

1шт.

12

0

GEAR,R.H.

SN: 01001-UP

1шт.

13

6110-33-6120

BUSHING

SN: 01001-UP

1шт.

14

6114-21-6611

COVER

SN: 01200-UP

1шт.

15

6110-21-6621

GASKET (K2)

SN: 01001-01199

1шт.

16

01010-30814

BOLT

SN: 01001-UP

24шт.

17

6110-21-6630

WASHER

SN: 01001-UP

23шт.

32

6114-81-2111

PLATE, NAME,(LIMITED SUPPLY)

SN: .-UP

1шт.

33

04418-03060

SCREW

SN: 01001-.

4шт.

Выбрано товаров: 23