Запчасти Komatsu 4D130-1H ГЕНЕРАТОР И КРЕПЛЕНИЕ (A) ОХЛАЖД-Е И ЭЛЕКТРИКАS

Схема запчастей Komatsu 4D130-1H - ГЕНЕРАТОР И КРЕПЛЕНИЕ (A) ОХЛАЖД-Е И ЭЛЕКТРИКАS
FIT
1:1
100%

Артикул

Название

Примечание

Количество

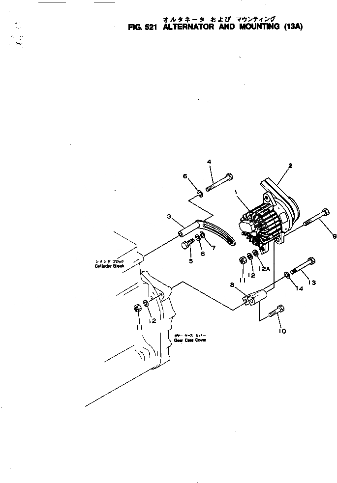
1

600-821-3350

ALTERNATOR A. (13A),(SEE FIG.541)

SN: 28323-UP

1шт.

2

600-736-9220

V-BELT SET

SN: 28323-UP

1шт.

3

6114-21-6920

PLATE

SN: 28323-UP

1шт.

4

01011-31215

BOLT

SN: 28323-UP

1шт.

5

01050-31230

BOLT

SN: 28323-UP

1шт.

6

01602-01236

WASHER

SN: 28323-UP

2шт.

7

01643-31232

WASHER

SN: 28323-UP

1шт.

8

6114-21-6910

BRACKET

SN: 28323-UP

1шт.

9

01011-31430

BOLT

SN: .-UP

1шт.

|9

0

BOLT

SN: 28323-.

1шт.

10

01011-31415

BOLT

SN: 28323-UP

1шт.

11

01580-01411

NUT

SN: 28323-UP

2шт.

12

01602-01442

WASHER

SN: 28323-UP

2шт.

13

01011-31015

BOLT,(SEE FIG.214)

SN: 28323-UP

1шт.

14

01602-01030

WASHER,(SEE FIG.214)

SN: 28323-UP

1шт.

Выбрано товаров: 15