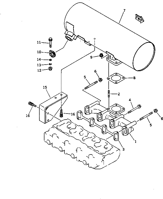
Запчасти Komatsu 4D84-2B ВЫПУСКНОЙ КОЛЛЕКТОР И ГЛУШИТЕЛЬ(№-) ГОЛОВКА ЦИЛИНДРОВ

Схема запчастей Komatsu 4D84-2B - ВЫПУСКНОЙ КОЛЛЕКТОР И ГЛУШИТЕЛЬ(№-) ГОЛОВКА ЦИЛИНДРОВ
FIT
1:1
100%

Артикул

Название

Примечание

Количество

1

YM129411-13100

MANIFOLD,EXHAUST

SN: 00101-UP

1шт.

2

YM26216-080222

STUD

SN: 00101-UP

4шт.

3

YM129550-13110

GASKET (KIT)

SN: 00101-UP

1шт.

4

YM26106-080802

BOLT

SN: 00101-UP

6шт.

5

YM26216-080802

STUD

SN: 00101-UP

2шт.

6

YM194990-22050

NUT

SN: 00101-UP

2шт.

7

YM129436-13500

MUFFLER

SN: 00101-UP

1шт.

8

YM129400-13201

GASKET

SN: 09463-UP

1шт.

|8

0

GASKET

SN: 00101-09462

1шт.

9

YM124990-22050

NUT

SN: 00101-UP

4шт.

|10

YM121120-13590

CLAMP ASS'Y

SN: 00101-UP

1шт.

10

0

CLAMP

SN: 00101-UP

1шт.

11

YM26106-100652

BOLT

SN: 00101-UP

1шт.

12

YM26706-100002

NUT

SN: 00101-UP

1шт.

13

YM22217-100000

WASHER,SPRING

SN: 00101-UP

1шт.

14

YM22137-100000

WASHER

SN: 00101-UP

1шт.

15

YM171350-13650

STAY

SN: 00101-UP

1шт.

16

YM26014-080202

BOLT

SN: 00101-UP

4шт.

Выбрано товаров: 18