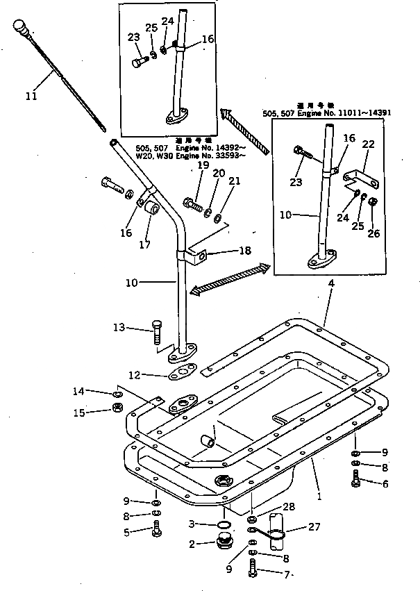
Запчасти Komatsu 4D94-2S МАСЛЯНЫЙ ПОДДОН БЛОК ЦИЛИНДРОВ

Схема запчастей Komatsu 4D94-2S - МАСЛЯНЫЙ ПОДДОН БЛОК ЦИЛИНДРОВ
FIT
1:1
100%

Артикул

Название

Примечание

Количество

1

6144-21-5110

PAN

SN: 15343-UP

1шт.

2

6130-22-5190

PLUG

SN: 21819-UP

1шт.

|2

0

PLUG

SN: 15343-21818

1шт.

3

07000-03022

O-RING (K2)

SN: 15343-UP

1шт.

4

6141-21-5811

GASKET (K2)

SN: 15343-UP

1шт.

5

01010-30816

BOLT

SN: 15343-.

3шт.

6

01010-30818

BOLT

SN: .-UP

20шт.

|6

01010-30818

BOLT

SN: 15343-.

17шт.

8

01602-00825

WASHER

SN: 15343-UP

20шт.

9

01640-20816

WASHER

SN: .-UP

20шт.

|9

0

WASHER

SN: 15343-.

20шт.

10

6144-21-5412

GUIDE

SN: 24550-UP

1шт.

|10

6144-21-5411

GUIDE

SN: 15343-24549

1шт.

11

6144-21-5310

GAUGE

SN: 15343-UP

1шт.

12

6141-21-5830

GASKET (K2)

SN: 15343-UP

1шт.

13

01010-31030

BOLT

SN: 15343-UP

2шт.

14

01602-01030

WASHER

SN: 15343-UP

2шт.

15

01580-01008

NUT

SN: 15343-UP

2шт.

16

6144-21-5590

CLAMP

SN: 24550-UP

1шт.

|16

6141-21-5350

CLAMP

SN: 15343-24549

1шт.

17

6144-11-5630

SPACER,(SEE FIG.121 OR 122)

SN: 15343-UP

1шт.

18

6144-21-5560

CLAMP

SN: 15343-24549

1шт.

19

01010-31020

BOLT

SN: 15343-24549

1шт.

20

01602-01030

WASHER

SN: 15343-24549

1шт.

21

01641-21016

WASHER

SN: 15343-24549

1шт.

Выбрано товаров: 25