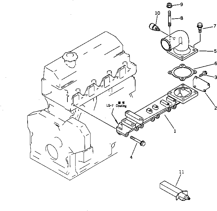
Запчасти Komatsu 4D95L-1AA-7 ТРУБОПРОВОД ВПУСКА ВОЗДУХА И СОЕДИН-Е ГОЛОВКА ЦИЛИНДРОВ

Схема запчастей Komatsu 4D95L-1AA-7 - ТРУБОПРОВОД ВПУСКА ВОЗДУХА И СОЕДИН-Е ГОЛОВКА ЦИЛИНДРОВ
FIT
1:1
100%

Артикул

Название

Примечание

Количество

1

6204-11-4130

MANIFOLD,AIR INTAKE

SN: 49965-UP

1шт.

2

6204-11-4140

PLATE

SN: 49965-UP

1шт.

3

01435-00812

BOLT

SN: 49965-UP

4шт.

4

01435-21075

BOLT

SN: 49965-UP

8шт.

5

6204-12-4230

CONNECTOR,AIR

SN: 49965-UP

1шт.

6

6136-11-4820

GASKET (K1)

SN: 49965-UP

1шт.

7

01435-21025

BOLT

SN: 49965-UP

3шт.

8

01144-31025

STUD

SN: 49965-UP

1шт.

9

01584-01008

NUT

SN: 49965-UP

1шт.

10

08670-02001

INDICATOR,DUST

SN: 49965-UP

1шт.

11

09920-00150

LIQUID GASKET,LG-7¤ 150G

SN: 49965-UP

-2шт.

Выбрано товаров: 11